EasyManua.ls Logo

Gates CRITERION Series - Page 46

Default Icon
57 pages
Print Icon
To Next Page IconTo Next Page
To Next Page IconTo Next Page
To Previous Page IconTo Previous Page
To Previous Page IconTo Previous Page
Loading...
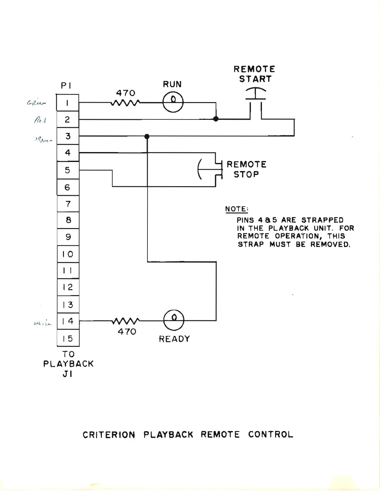
CRITERION
PLAYBACK
REMOTE
CONTROL