EasyManua.ls Logo

GE 23

GE 23
88 pages
Go to English
To Next Page IconTo Next Page
To Next Page IconTo Next Page
To Previous Page IconTo Previous Page
To Previous Page IconTo Previous Page
Loading...
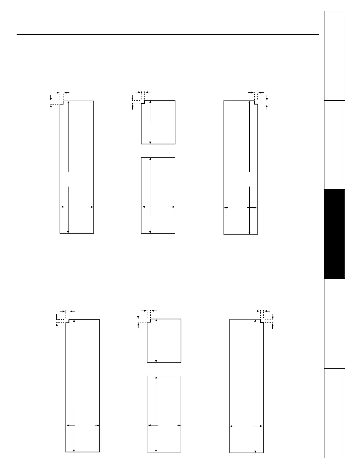
Molduras y paneles decorativos.
Panel del
congelador
sin dispensador
Paneles del
congelador
con dispensador
Panel de los
alimentos frescos
Corte
5/16
"
(8 mm)
14
15
32"
(36,8 cm)
67
9
32"
(170,9 cm)
1/8" (3 mm)
FRENTE
17
7
8"
(45,4 cm)
14
15
32"
(36,8 cm)
33
5
8"
(85,4 cm)
FRENTE
67
9
32"
(170,9 cm)
19
15
32"
(49,5 cm)
FRENTE
23‘ Dimensiones de los paneles precortados
Las áreas superiores de los paneles necesitan recortarse.
25‘ Dimensiones CustomStyle
de los paneles precortados
Las áreas superiores de los paneles necesitan recortarse.
Corte
1/8
" (3 mm)
Corte
1/8" (3 mm)
5/16
"
(8 mm)
5/16
"
(8 mm)
Panel del
congelador
sin dispensador
Paneles del
congelador
con dispensador
Panel de los
alimentos frescos
Corte
5/16
"
(8 mm)
14
15
32"
(36,8 cm)
69"
(175,3 cm)
1/8
" (3 mm)
FRENTE
17"
(43,2 cm)
14
15
32"
(36,8 cm)
36
1
4"
(92,0 cm)
FRENTE
69"
(175,3 cm)
19
15
32"
(49,5 cm)
FRENTE
Corte
1/8
" (3 mm)
Corte
1/8" (3 mm)
5/16
"
(8 mm)
5/16
"
(8 mm)
Soporte al consumidorSolucionar problemasOperación
Seguridad
Instalación
21

Other manuals for GE 23

Related product manuals