EasyManua.ls Logo

GE GFSS2HCYSS - Page 102

GE GFSS2HCYSS
128 pages
Print Icon
To Next Page IconTo Next Page
To Next Page IconTo Next Page
To Previous Page IconTo Previous Page
To Previous Page IconTo Previous Page
Loading...
Instrucciones para la instalación
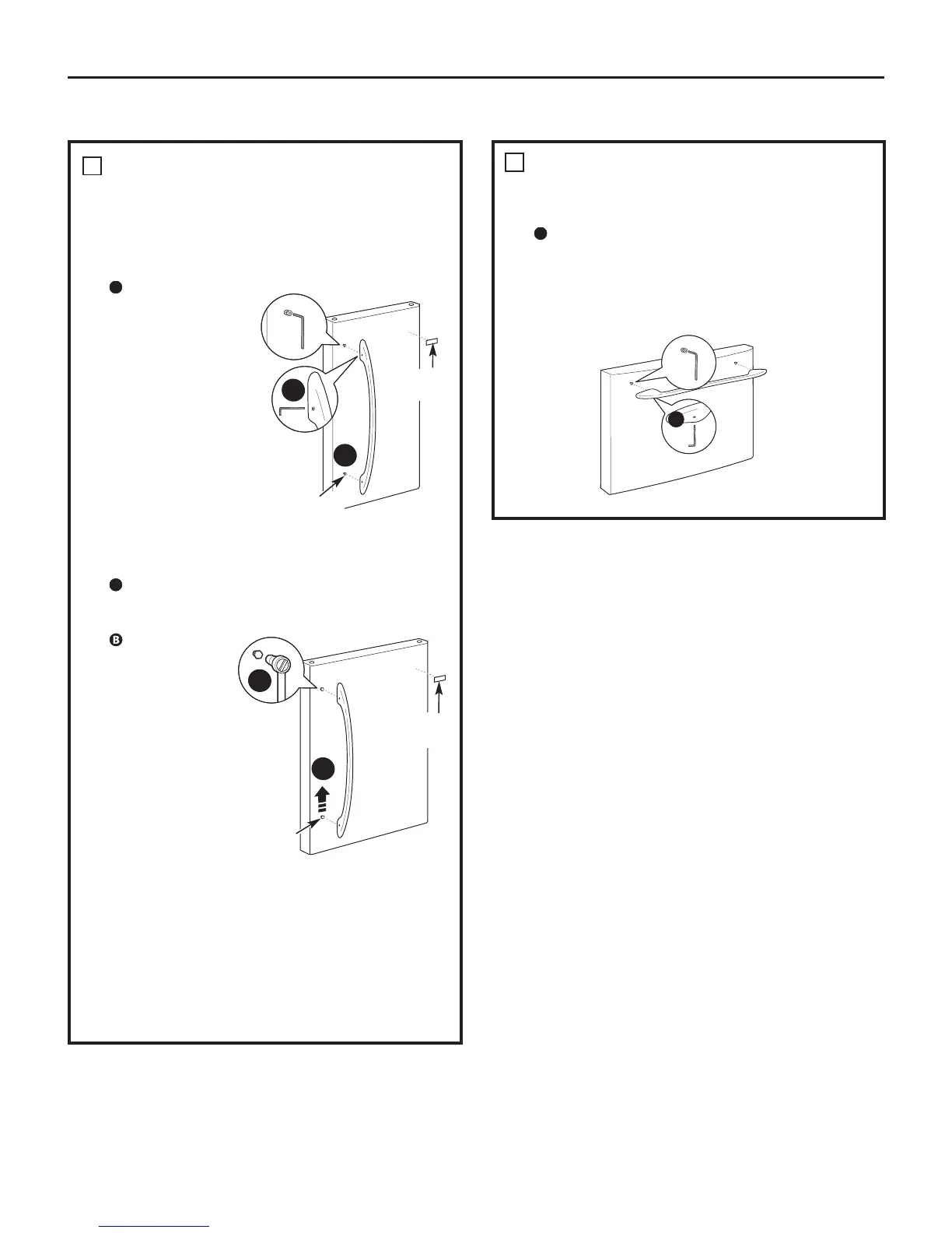
RETIRE LA MANIJA DE LA PUERTA
DE ALIMENTOS FRESCOS
(Para la colocación en el lugar de
instalación o la inversión de las manijas –
en algunos modelos)
Manija de acero inoxidable (en algunos modelos):
CÓMO REMOVER
LA MANIJA DE
LA PUERTA: Afloje
los tornillos de
fijación con una llave
Allen de 3/32”
y retire la manija.
NOTA: Para modelos
de doble puerta
siga el mismo
procedimiento en
la puerta opuesta.
Manija plástica
(en algunos modelos):
CÓMO QUITAR LA MANIJA DE LA PUERTA: Baje
la lengüeta ubicada en la parte inferior de la manija
y deslícela hacia arriba, sacándola de las fijaciones.
PARA INVERTIR
LA MANIJA DE
LA PUERTA
(en algunos
modelos):
Retire los tornillos
de montaje de
la manija con
una llave Allen
de 3/16”
y traslade
los tornillos
de montaje
de la manija
al lado derecho.
Quite la insignia del logo.
Remover y transferir el tapón al lado izquierdo de
la puerta de alimentos frescos. NOTA: Use un elemento
plástico y plano a fin de no dañar la puerta. Quite
los restos de adhesivo de la puerta con un detergente
suave. Retire la cobertura de papel de la parte trasera
de la insignia del logo antes de colocar la chapa sobre
la puerta.
A
A
6
RETIRE LA MANIJA DE LA PUERTA
DEL CONGELADOR
Manijas de acero inoxidable y plástico:
Afloje los tornillos de fijación ubicados en la parte
inferior de la manija con una llave Allen de 1/8”
y retire la manija.
NOTA: Para ajustar o retirar los tornillos de montaje
de la manija, utilice una llave Allen de 3/16”.
A
7
A
102
A
B
A
B
Tornillos
de montaje
Tornillos
de
montaje
Insignia
del logo
Insignia
del logo
(la apariencia puede variar)
(la apariencia puede variar)
INSTALACIÓN DEL REFRIGERADOR (cont.)

Table of Contents

Other manuals for GE GFSS2HCYSS

Related product manuals