EasyManua.ls Logo

GE PVD28BYNFS

GE PVD28BYNFS
136 pages
To Next Page IconTo Next Page
To Next Page IconTo Next Page
To Previous Page IconTo Previous Page
To Previous Page IconTo Previous Page
Loading...
49-1000332 Rev. 0 7
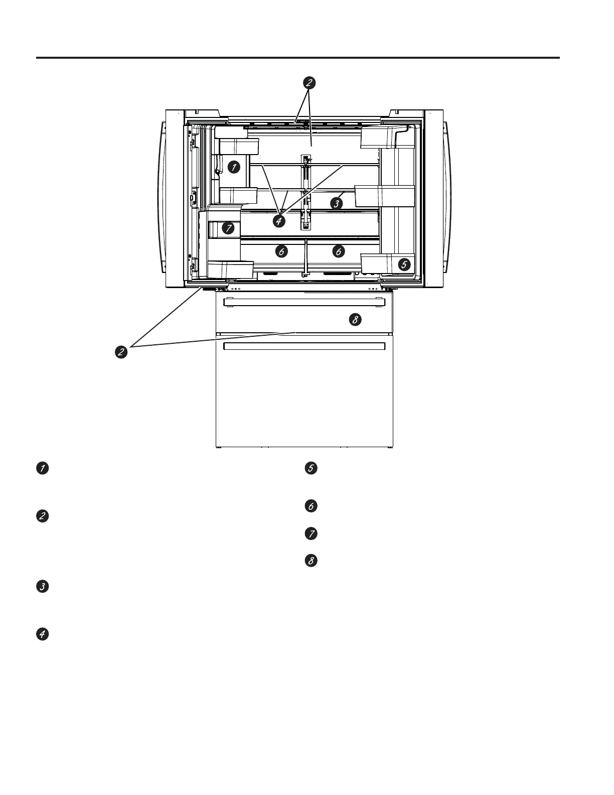
Funciones
Máquina de hacer hielo con ahorro de espacio
La máquina de hacer hielo y el recipiente están ubicados
en la puerta, creando un espacio de almacenamiento con
mayor uso.
Luz LED de exhibición
/DOX]/('HVWiSRVLFLRQDGDDWUDYpVGHOLQWHULRUSDUD
LOXPLQDUiUHDVGHOUHIULJHUDGRU'HEDMRGHODSXHUWDGH
FRPLGDVIUHVFDVVHHQFXHQWUDQXELFDGDVOXFHV/('SDUD
iluminar el cajón convertible, y debajo del cajón convertible
VHHQFXHQWUDQOXFHV/('SDUDLOXPLQDUHOFDMyQGHOIUHH]HU
Estante de QuickSpace
TM
Funciona como un estante normal de tamaño completo
cuando lo necesite y se desliza fácilmente hacia adentro
para guardar artículos altos en la parte inferior.
Estantes a prueba de derrames
'LVHxDGRVSDUDFDSWXUDUGHUUDPHV\SHUPLWLUXQDOLPSLH]D
más fácil.
Recipiente con puerta desmontable
Puede ser retirado cuando haya una pared que limite la
apertura de la puerta.
Recipiente de Climate zone
Recipientes aparte para almacenar productos alimenticios.
Filtro de agua
Filtra agua y hielo
Cajón convertible
Seleccione la mejor temperatura para guardar su comida.
Modelos de GE
OPERACIÓN DEL REFRIGERADORE: Funciones

Table of Contents

Related product manuals