EasyManua.ls Logo

General AOG24RNAKH - Refrigerant System Diagram

General AOG24RNAKH
41 pages
Print Icon
To Next Page IconTo Next Page
To Next Page IconTo Next Page
To Previous Page IconTo Previous Page
To Previous Page IconTo Previous Page
Loading...
2004.10.19
- 4 -
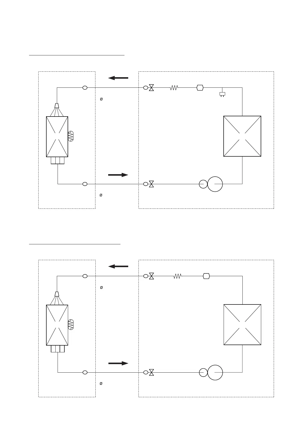
Refrigerant pipe
15.88mm(5/8")
Refrigerant pipe
9.52mm(3/8")
Capillary
tube
Pressure
switch
Compressor
3-Way
valve
2-Way
valve
Dryer
Thermistor
(Pipe)
OUTDOOR UNIT
Distributor
INDOOR UNIT
Evaporator
Condenser
Refrigerant pipe
15.88mm(5/8")
Refrigerant pipe
9.52mm(3/8")
Capillary
tube
Compressor
3-Way
valve
2-Way
valve
Dryer
Thermistor
(Pipe)
OUTDOOR UNIT
Distributor
INDOOR UNIT
Evaporator
Condenser
REFRIGERANT SYSTEM DIAGRAM
Models : ASG18ABAJ / AOG18ANAKH
Models : ASG18ABAJ / AOG18ANAK

Related product manuals