EasyManua.ls Logo

Genius RAINBOW 724 C - Page 19

Genius RAINBOW 724 C
Print Icon
To Next Page IconTo Next Page
To Next Page IconTo Next Page
To Previous Page IconTo Previous Page
To Previous Page IconTo Previous Page
Loading...
RAINBOW 524 C- RAINBOW 724 C
Immagini - Images - Images - Imágenes - Bilder - Afbeeldingen
Pag. 1
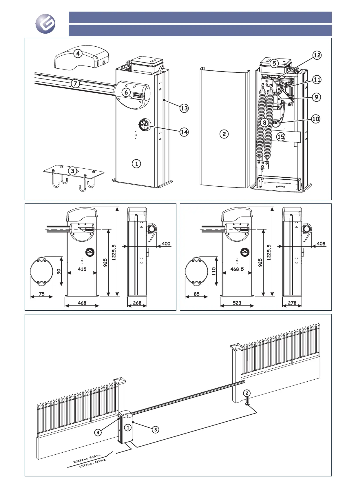
Fig. 1
Fig. 2 Fig. 3
Fig. 4

Related product manuals