EasyManua.ls Logo

GiBiDi MODO12 - Page 8

GiBiDi MODO12
16 pages
Print Icon
To Next Page IconTo Next Page
To Next Page IconTo Next Page
To Previous Page IconTo Previous Page
To Previous Page IconTo Previous Page
Loading...
8
MODO12
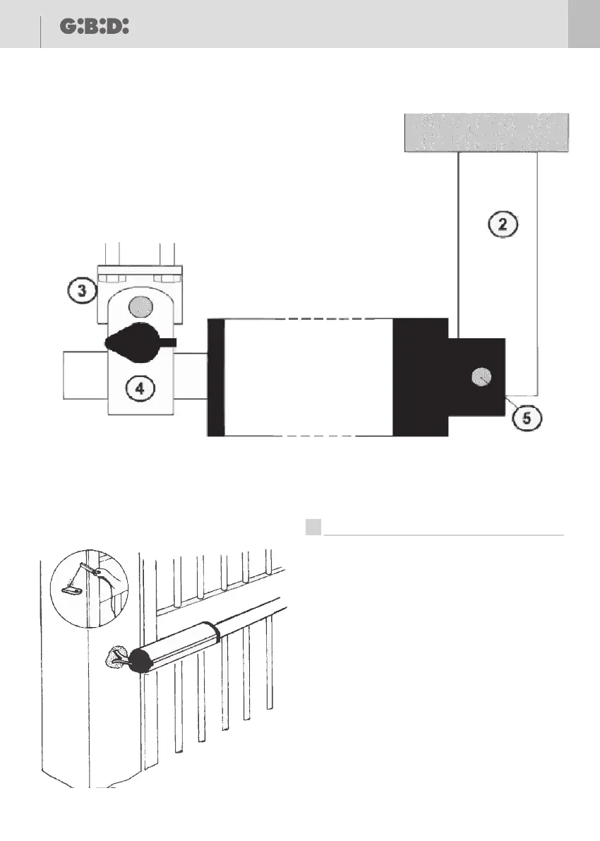
QUOTE DI APPLICAZIONE CON STAFFE FISSE
ATTENZIONE! LEGGERE ATTENTAMENTE QUESTO PARAGRAFO; I
SUPPORTI FORNITI SONO UNIVERSALI, PERTANTO DEVONO ESSERE
ADATTATI AL VOSTRO CANCELLO RISPETTANDO LE QUOTE RIPORTATE IN
T A B E L L A A
PAG. 6.
La staffa (2) (ved. fig. 4) di supporto dell’operatore deve essere adattata al cancello in
modo da rispettare le quote (A) e (B) e saldata se si possiede un pilastro in ferro
oppure murata se si possiede un pilastro in muratura (ved. fig. 5).
(A) è la distanza dall’asse del cardine del cancello all’asse di rotazione dell’operatore
(5) misurata in senso parallelo.
(B) è la distanza dall’asse del cardine del cancello all’asse di rotazione dell’operatore
(5) misurata in senso perpendicolare.
La staffa (3) deve essere fissata al cancello in modo da rispettare la quota (C) a
cancello chiuso.
(C) è la distanza fra l’asse di rotazione dell’operatore (5) e l’asse della pinza (4)
(centro del foro di fissaggio alla staffa).
Prima di bloccare la pinza (4) sullo stelo, chiudere il cancello, fare uscire
completamente lo stelo dell’operatore, ruotare manualmente di un giro in senso
orario lo stelo dell’operatore per la precarica, quindi serrare con forza il dispositivo di
sblocco.
I
Fig. 4
Fig. 5

Related product manuals