EasyManua.ls Logo

Global 600CP514A - How the Air Conditioner Works

Global 600CP514A
16 pages
Print Icon
To Next Page IconTo Next Page
To Next Page IconTo Next Page
To Previous Page IconTo Previous Page
To Previous Page IconTo Previous Page
Loading...
88
OPERATING INSTRUCTIONS
How the air conditioner works
1 hour
1 hour
Set
Temperature
Set
Temperature
Cooling
Heating
SLEEP operation
1 hour
1 hour
SLEEP operation
7 hours timer off
7 hours timer off
AUTO operation
When you set the air conditioner in AUTO mode, it will
automatically select cooling, heating(cooling/heating
models only), or fan only operation depending on what
temperature you have selected and the room
temperature.
The air conditioner will control room temperature
automatically round the temperature point set by you.
If the AUTO mode is uncomfortable, you can select
desired conditions manually.
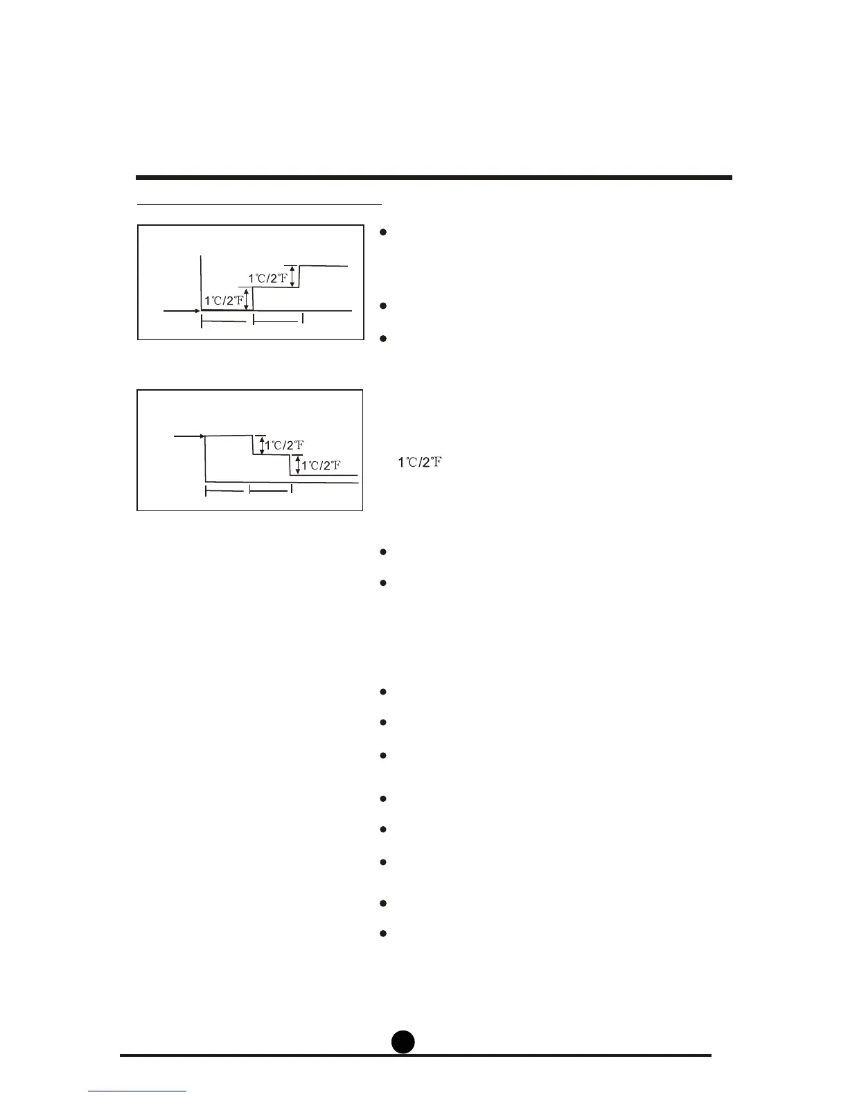
SLEEP operation
When you push SLEEP button on remote controller
during cooling, heating(cooling & heating models only),
or AUTO operation , the air conditioner will
automatically increase (cooling) or decrease (heating)
per hour for the first 2 hours, then hold
steady for the next 5 hours, after that it will switch off.
This characteristic maintains both enery saving and
comfort in night operation.
DRYING operation
The fan speed will be automatically controlled under
dry operation.
During the dry operation, if the room temperature is
OO
lower than 10 C(50 F), the compressor stops operation
and restarts until the room temperature is above
OO
12 C(54 F).
Optimal operation
To achieve optimal performance, please note the
following:
Adjust the air flow direction correctly so that it is not
directed on people.
Adjust the temperature to achieve the highest comfort
level. Do not adjust the unit to excessive temperature
levels.
Close doors and windows on COOL or HEAT modes,
or performance may be reduced.
Use TIMER ON button on the remote controller to
select a time you want to start your air conditioner.
Do not put any object near air inlet or air outlet, as the
efficiency of the air conditioner may be reduced and
the air conditioner may stop running.
Clean the air filter periodically, otherwise cooling or
heating performance may be reduced.
Do not operate unit with horizontal louvre in closed
position.

Related product manuals