EasyManua.ls Logo

GLW CS 60 - Page 71

GLW CS 60
Print Icon
To Next Page IconTo Next Page
To Next Page IconTo Next Page
To Previous Page IconTo Previous Page
To Previous Page IconTo Previous Page
Loading...
COMMANDE
08/2012 9
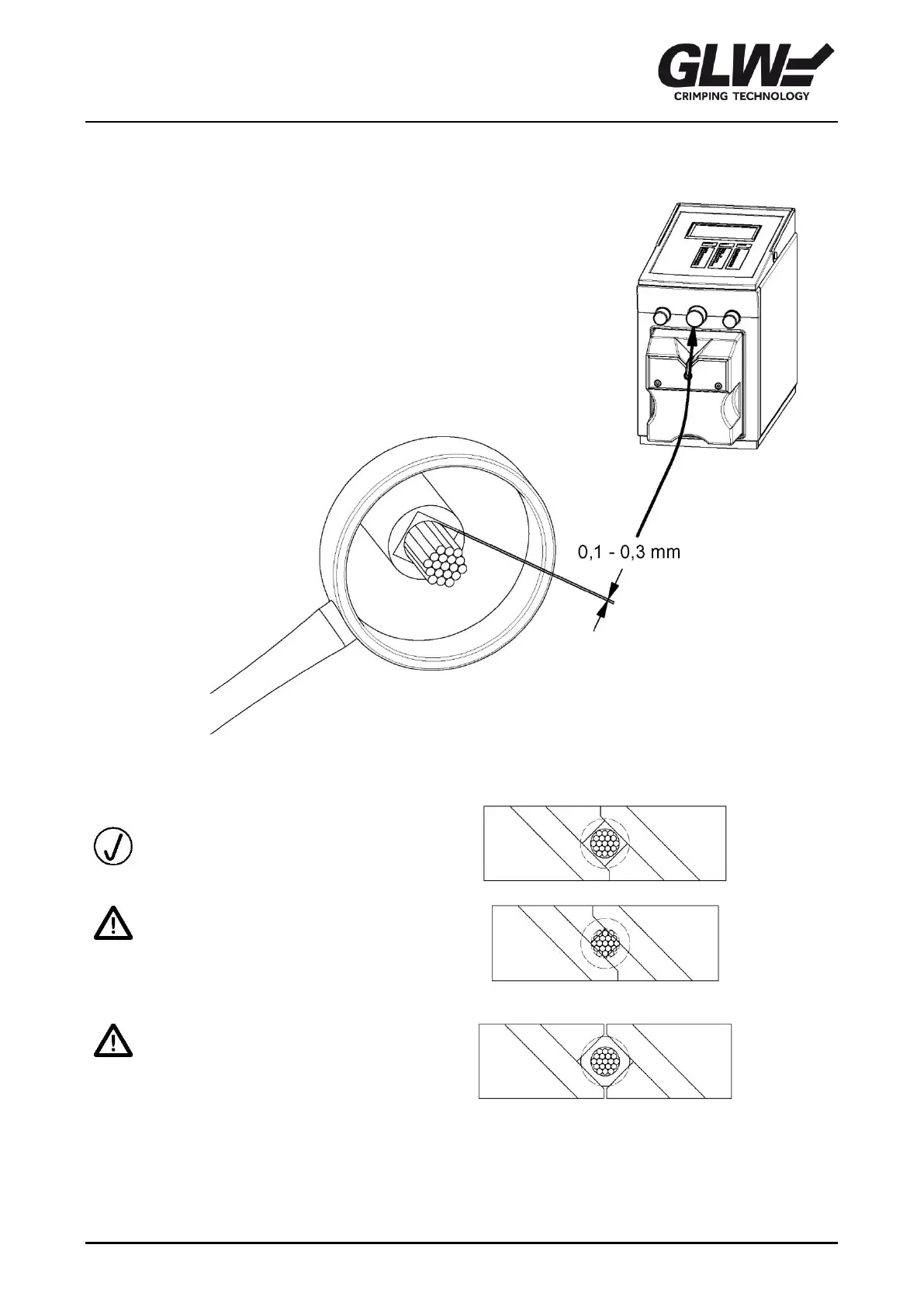
2. Corriger le diamètre
Vérifiez la profondeur de coupe avec une coupe d'essai.
et corrigez si nécessaire le réglage.
La coupe doit s'arrêter 0,1 0,3 mm avant le conducteur
afin de ne pas le blesser.
Les couteaux ont un écart de sécurité
avec le conducteur suffisant et coupent
proprement l'isolation.
Les couteaux coupent trop profondément
dans le conducteur.
Le couteau peut être endommagé !
Les couteaux ne coupent pas
suffisamment l'isolation.
Le couteau peut être endommagé !