EasyManua.ls Logo

Gomco 6036 - Page 20

Default Icon
24 pages
Print Icon
To Next Page IconTo Next Page
To Next Page IconTo Next Page
To Previous Page IconTo Previous Page
To Previous Page IconTo Previous Page
Loading...
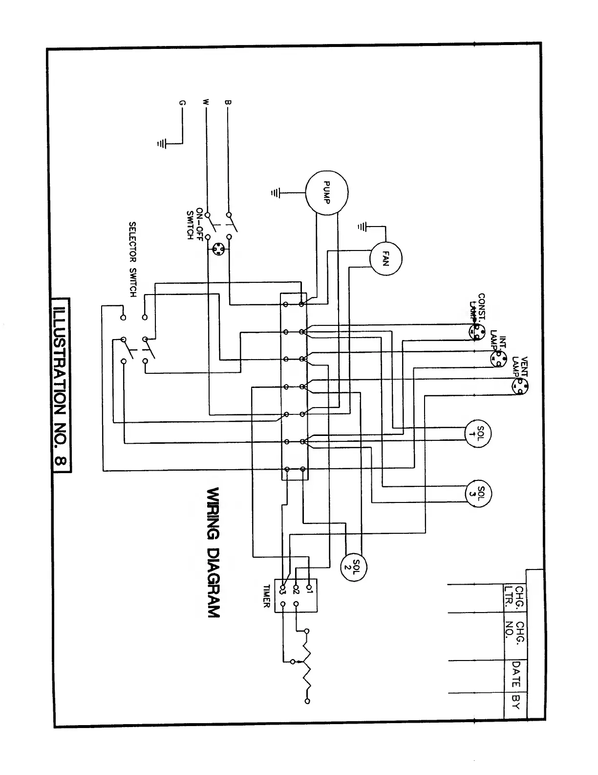
ILLUSTRATION
NO.
8
JampQ
I
PS?'
I
St!
G
'
Idate
I
by