EasyManua.ls Logo

Gorenje EC7968E - Oven Guide Levels; Oven Accessories

Gorenje EC7968E
16 pages
Print Icon
To Next Page IconTo Next Page
To Next Page IconTo Next Page
To Previous Page IconTo Previous Page
To Previous Page IconTo Previous Page
Loading...
Instructions for use, installation and connection
110
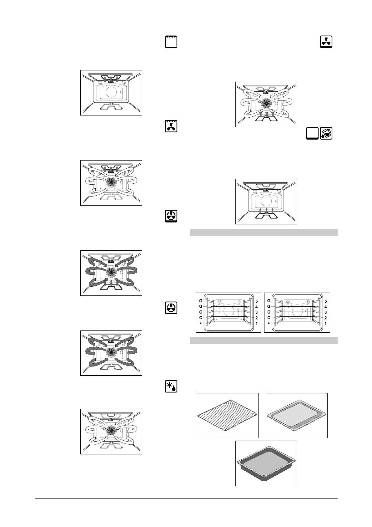
Grill
Heat comes directly from the infrared heater, located at the
oven ceiling. It is especially suitable for preparing steaks,
sausages, T-bones, pork chops, etc.
Grill with ventilator
Infrared heater and ventilator operate simultaneously. This
mode is appropriate for roasting and grill of larger chunks of
meat or poultry at one level. It may also be used to obtain crisp
skin on your roast.
Lower heater and ventilator
Both the lower heater and hot air ventilator are in operation.
This mode is most appropriate for baking pizza. It may also be
used for baking moist or heavy cake at two levels, fruit cake or
cheese souffle.
Ventilator with hot air
The fan at the rear forces the air around the roast or pastry. It
is suitable for roasting and baking at more than one level.
Defrosting
This is the mode with air, circulating without any of the heaters
being turned on. It is used for slow defrosting of food.
Lower heater and ventilator
Both the lower heater and ventilator are in operation. The mode
is useful for baking low pastry and preparation of preserved
fruit and vegetables. Use the first guide level from the bottom,
and not too high pans, to allow the air to circulate along the
upper side of the food.
Applying lower heater/ Aqua clean
Heat is applied only by the bottom side of the oven. Use this
option for browning the bottom side of the food (baking heavy,
moist pastry with fruit dressing). The temperature selection
button in such cases may be selected as required. Lower
heater - Aqua clean may also be used for the cleaning of oven.
You will find details in the section Cleaning and maintenance.
Oven guide levels
Baking pans and accessories (oven grid, grease receptacle,
baking tray, etc.) may be inserted into the oven in 5 guiding
levels. Appropriate levels are indicated in the tables that follow.
Always count levels from the bottom upwards!
Guides may be of three types, depending on the model.
Telescopic guides are inserted in the 2
nd
, 3
rd
and 5
th
level. In
case of wire guides, the grid and the baking pans must always
be inserted in the guide slides.
Oven accessories
(differ according to different models)
Oven grid shelf for placing pans and trays, or for food to be
prepared using the grill.
Flat biscuit tray for baking cake and biscuits.
Dripping grease receptacle
(deep tray) for moist cake, for roasting or for intercepting
dripping oil/grease.

Related product manuals