EasyManua.ls Logo

Gravely Pro-Trim 22 - Page 15

Gravely Pro-Trim 22
22 pages
Print Icon
To Next Page IconTo Next Page
To Next Page IconTo Next Page
To Previous Page IconTo Previous Page
To Previous Page IconTo Previous Page
Loading...
EN - 15
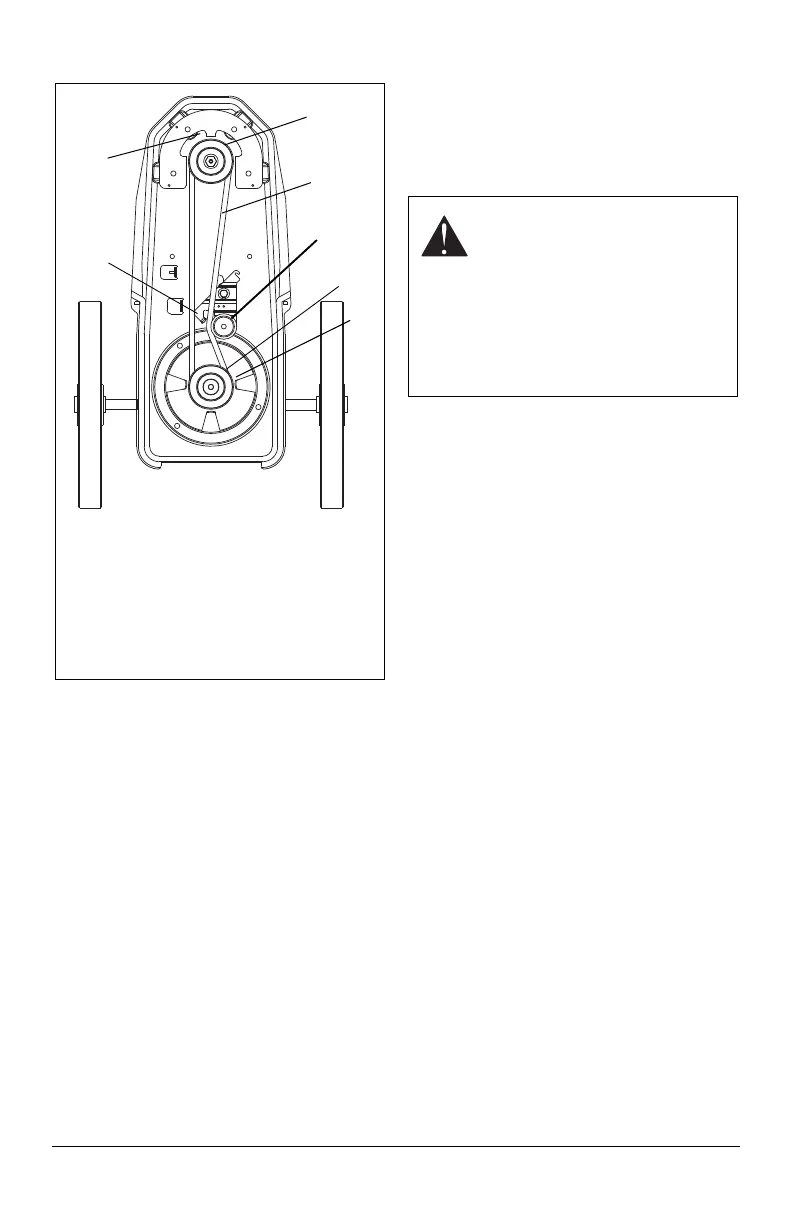
To remove the old belt:
1. Stop the engine and wait for all moving
parts to stop. Disconnect the spark plug
wire and place it securely away from the
spark plug.
2. Place unit in service position (see
Maintenance section).
3. Remove the six (6) hex washer head
screws and the trimmer shield.
4. Remove the four (4) hex washer head
screws on the top side of the frame. The
jackshaft assembly, belt fingers and
jackshaft spacers will now be loose.
5. Remove the v-belt from the jackshaft
pulley.
6. Remove the capscrew and lock washer
from the engine sheave.
7. Lower the engine sheave past the belt
fingers and remove the belt.
To install the new belt:
1. Slide the new belt over the groove in the
engine sheave and slide the sheave
against the engine. Make sure the belt is
in the groove and is inside the belt fingers.
2. Install the capscrew and lock washer.
Tighten securely.
3. Slide the belt between the idler and belt
finger on the idler bracket.
4. Install the four tapping screws in the holes
in the frame, from the top side of the
frame.
5. Install the four jackshaft spacers on the
tapping screws.
6. Install the belt finger. Make sure the bent
tabs are facing up and are to the sides
and front of the unit.
7. Install the belt in the groove of the
jackshaft pulley.
8. Attach the jackshaft assembly to the
frame with the four tapping screws.
Fasten securely.
9. Reinstall the trimmer shield with the six
tapping screws.
CAUTION: Before tipping unit,
remove enough fuel so no
spillage will occur. A piece of
plastic bag may be used to seal
fuel tank when tipping unit. To
seal, remove fuel tank cap, cover
fuel tank opening with plastic,
replace and tighten cap securely
before attempting to tip unit. Be
sure to remove plastic before
operating unit.

Related product manuals