EasyManua.ls Logo

GREENLINE DM-810A - Accuracy Specifications - Frequency, Duty Cycle, Temp, EF

Default Icon
196 pages
Print Icon
To Next Page IconTo Next Page
To Next Page IconTo Next Page
To Previous Page IconTo Previous Page
To Previous Page IconTo Previous Page
Loading...
DM-810A • DM-820A • DM-830A • DML-430A
23
Accuracy (cont’d)
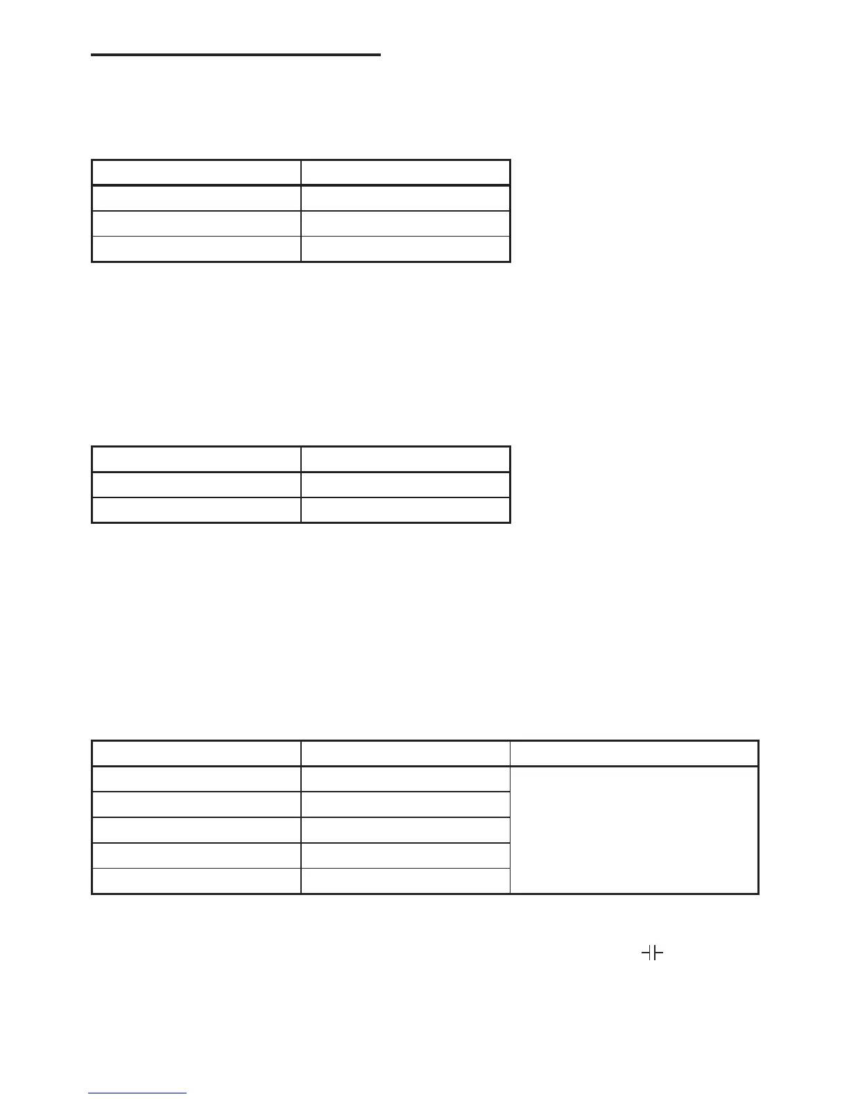
Accuracy for Frequency Ranges
Display Range Accuracy
99.99 Hz ± (0.04% + 0.04 Hz)
999.9 Hz ± ( 0.04% + 0.4 Hz)
9.999 kHz ± ( 0.04% + 0.004 kHz)
Frequency—Logic Level
Range: 5.00 Hz to 1.000 MHz
Accuracy: ± (0.004% + 4 digits)
Sensitivity: 2.5 Vp square wave
% Duty Cycle
Range: 0.00% to 100.0 %
Accuracy: ± (3 digits/kHz + 2 digits)
Input Frequency: 5 Hz to 10 kHz
DM-820A, DM-830A, and DML-430A Only
Temperature (DM-820A) and Dual Temperature (DM-830A and DML-430A)
Range Accuracy
-50 °C to 1000 °C ± (0.3% + 2 °C)
-58 °F to 1832 °F ± (0.3% + 5 °F)
Type-K thermocouple range and accuracy not included
Crest Capture (Voltage and Current) for Crests > 1.0 ms in duration
Accuracy: Specified accuracy + 250 digits
Record Mode for changes > 100 ms in duration
Accuracy: Specified accuracy + 10 digits
DM-820A and DM-830A Only
Electric Field Detection
Typical Voltage Bar Graph Indication
(1)
Frequency Range
10 V to 36 V
50 Hz to 60 Hz
23 V to 83 V – –
59 V to 165 V – – –
124 V to 330 V – – – –
More than 250 V – – – – –
(1)
Bar graph indication and tone are proportional to signal strength
Detection Antenna: Top end of the meter
Probe-Contact EF-Detection: For more precise indication of live wires, use the ΩV
test probe
for direct contact measurements

Table of Contents