EasyManua.ls Logo

Grillo 11500 - Page 18

Grillo 11500
60 pages
Print Icon
To Next Page IconTo Next Page
To Next Page IconTo Next Page
To Previous Page IconTo Previous Page
To Previous Page IconTo Previous Page
Loading...
16
RILIEVO DEI LIVELLI DI RUMOROSITÀ
La rumorosità della macchina è stata rilevata secondo la norma EN 709 dall'Istituto di Meccanica
Agraria dell'Università degli Studi di Bologna.
Per il rilievo dei livelli di rumorosità è stato impiegato un misuratore Brüel & Kjær 2231, Ser. No. 1178097,
conforme alle IEC804, IEC651-1I, ANSI S1.4-1983, ed un microfono B&K 4133, conforme alla IEC651.
Il rilievo dei livelli di rumorosità è stato eseguito in area libera da ostacoli per un raggio di almeno
20 m. e con motore alla temperatura di regime.
Per quanto segue ci si riferisce alla proposta CEE PrEN 1553: 1994-annesso B.
Pressione ambiente 760 mmHg;
Temperatura 3°C;
Umidità relativa 85%;
Velocità del vento inferiore a 0.5m/s, (e quindi la costante di correzione dovuta al rumore di fondo
vale 0).
90.1
90.1
89.9
90.1
1)
2)
3)
media convenzionale
Regime di rotazione del Motore
3060 giri/min (lato più rumoroso S)
MOTOZAPPA 11500
Livello equivalente di pressione acustica nella posizione del pilota [dB (A)]
RILIEVO DEI LIVELLI DI VIBRAZIONE
Il rilievo dei livelli di vibrazione è stato effettuato dall'Istituto di Meccanica Agraria dell'Università
degli Studi di Bologna secondo la proposta CEE PrEN 709; 1994 ed alla norma EN 1033.
I valori dell'accelerazione media ponderata alla mano secondo le norme ISO sono riportati nella
tabella seguente.
Condizioni ambientali:
Pressione ambiente 770 mmHg;
Temperatura 11°C;
Umidità relativa 92%.
Motozappa tipo 11500
Velocità di rotazione del motore:
3600 rpm numinali a vuoto, e 3060 rpm durante la prova.
Dir. di avanzamento
Dir. trasversale
Dir. Verticale
aeq
6,54
1,85
3,16
5,42
a [m/s
2
]
hw
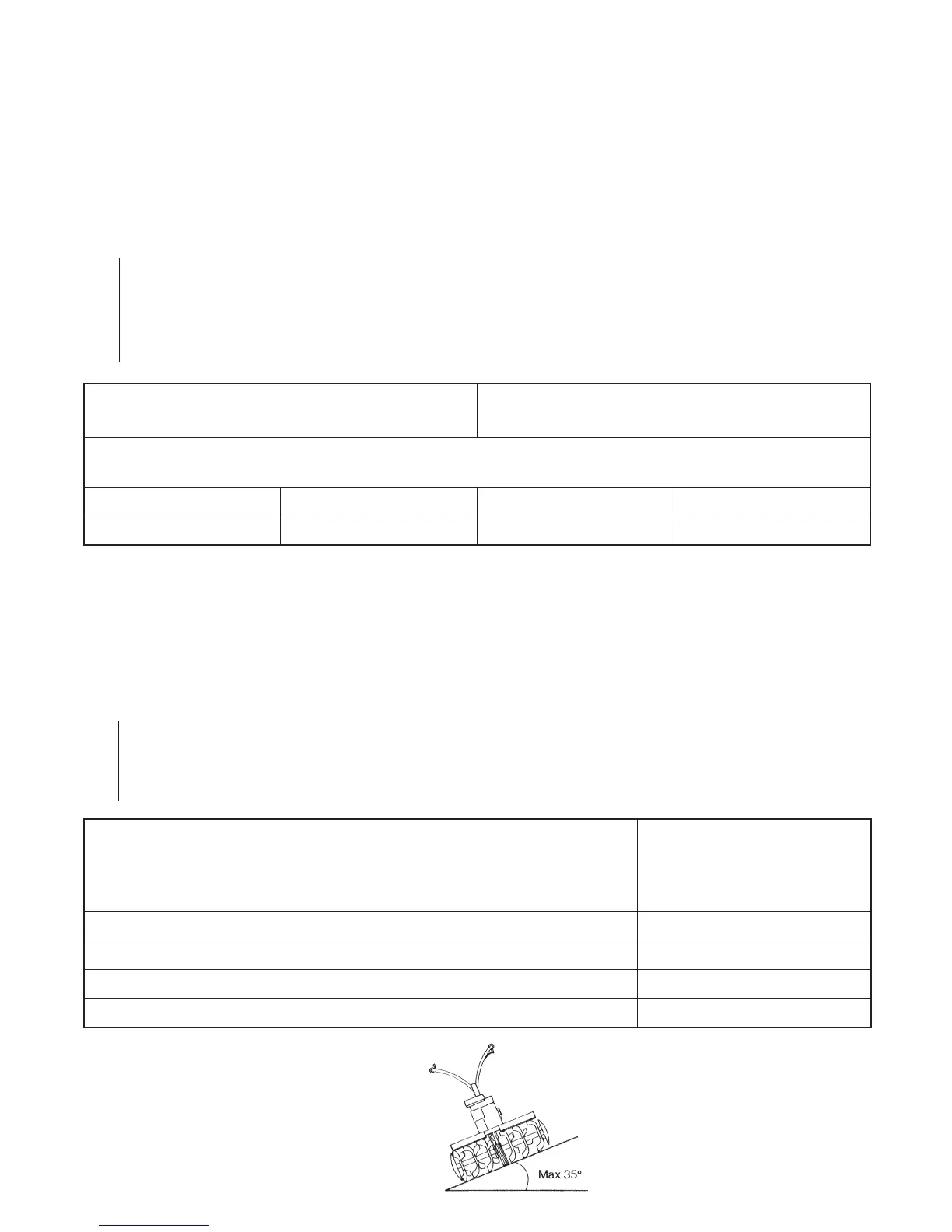
ANGOLO DI RIBALTAMENTO

Related product manuals