EasyManua.ls Logo

Guardall Apollo 15 - Product Specification and Components; Description of Components; Technical Specifications; Accessories

Guardall Apollo 15
2 pages
Print Icon
To Previous Page IconTo Previous Page
To Previous Page IconTo Previous Page
Loading...
All Guardall products are warranted against
defects in workmanship or materials (details
on request). In the interests of improving
quality and design, Guardall reserve the
right to amend specifications without giving
prior notice. Faulty product should be
returned to your supplier.
Guardall Limited,
Lochend Industrial Estate,
Newbridge, Edinburgh
EH28 8PL,
Scotland
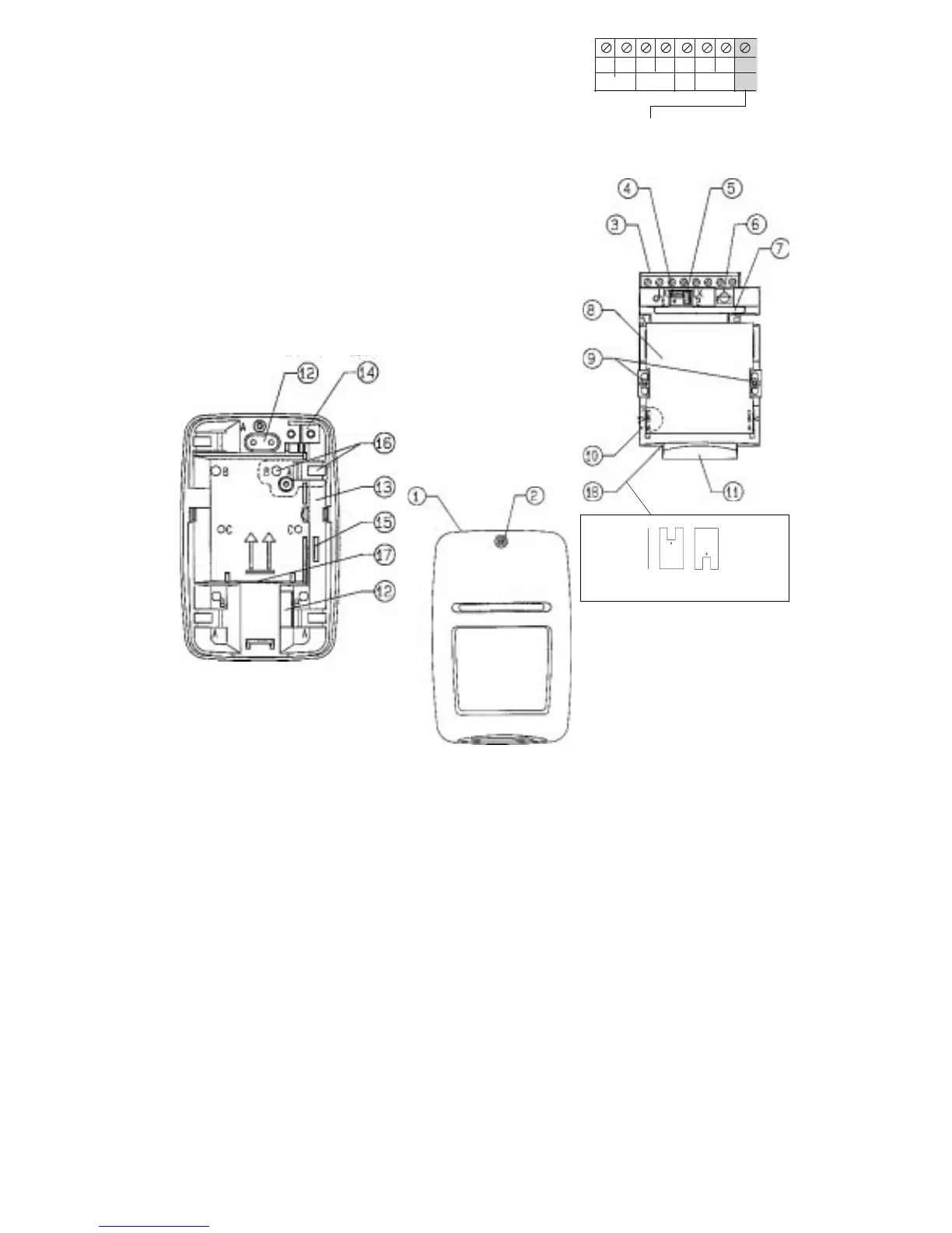
Description
Diagram 1
1. Front Cover
2. Front Cover Screw (loosen only - do not remove)
3. Terminal Block (see Diagram 2 for details)
4. Pulse Count Link - LK1
5. LED Enable Link - LK2
6. Tamper Spring
7. LED Display
8. Lens
9. Lens Clamping Screws (2 off - loosen only - do not
remove)
10. Lens Declination Indicator
11. Sneak Lens
12. Cable Knockout Positions
13. Cable Channel
14. Spare Terminal Connection (optional)
15. Cable tie Anchor Point
16. Off-the-Wall Tamper Mounting Points
17. Module Retaining Clip
18. Pet Alley Mask
Diagram 2
12345678
-
+
NC
ALARM
NC
TAMPER
CONT-
ROL
TEST
12V
Apollo Elite only
Diagram 1
Rotate Pet
Alley Mask
and place this
way to mask
all fill-in
beams for
pets, etc.
Place this
way into the
module for
normal
operation (as
supplied)
Specification
Power
Voltage : 8.5 - 16.5 V d c
Current : 8.5 mA maximum at 12 V dc
Maximum Ripple : 2 V peak to peak at 12 V dc
Alarm Output : Normally closed, voltage free relay
contacts. Rated at 24 V, 50 mA dc with
10 series protection resistor
Alarm Period : Approximately 3 seconds
Tamper Output : Normally closed, voltage free switch
contacts. Rated at 24 V, 50 mA dc
Temperature Range : -10˚C to +55˚C (14˚F to 130˚F)
Coverage Adjustment : +2˚ to -12˚ vertically, +/-5˚ horizontally
when corner mounted
Walk Test LED : Internal link to enable
Pulse Count : Internal link to enable
Remote LED Enable : Remote control of unit LED via LED
Test Line
Control Line
:
Available on Apollo Elite only. Normally
0 V or open circuit, detector supply to
activate. Must have common ground
with detector
Packed Weight : 100 g approximately
Dimensions (HxWxD) : 96 x 63 x 43 mm
Accessories :
W72704 AP12/3
Volumetric Lens
W72705 AP20/3 Corridor Lens
W72706 AP10/3 Curtain Lens
W72321 LPB2 (Low Profile Bracket - providing
+/- 45˚ horizontal/vertical adjustment)
W72977 CMB1 (Ceiling Mount Bracket - providing+/- 45˚
horizontal/vertical adjustment)
A Corner Mounting Screw Holes
B Wall Mounting Screw Holes
C LPB2 / CMB1 Mounting Screw Holes

Related product manuals