EasyManua.ls Logo

GV Puma - HEPA Filter Maintenance and Care; HEPA Filter Cleaning and Replacement

GV Puma
12 pages
Print Icon
To Next Page IconTo Next Page
To Next Page IconTo Next Page
To Previous Page IconTo Previous Page
To Previous Page IconTo Previous Page
Loading...
B3
3$ )!  D, o mais avançado no
mercado cujo material é em Poliéster lavável
antibacteriano. Deve ser verificado
frequentemente conforme a intensidade da
utilização, para uma utilização média o
aconselhável será verificar no espaço de um
mês. Caso se encontre muito sujo pode ser
removido por desaperto do parafuso de
segurança e lavado com água da torneira.
Deverá estar bem seco quando for
recolocado na máquina.
($!&Q %&( &%!) % &! F  &!
! !) % (9 GQ Mensalmente deve ser
verificado. Caso o saco se encontre cheio,
deve ser preferencialmente substituído por
um novo. Substitui-lo sempre que se
apresente em mau estado ou danificado.
3
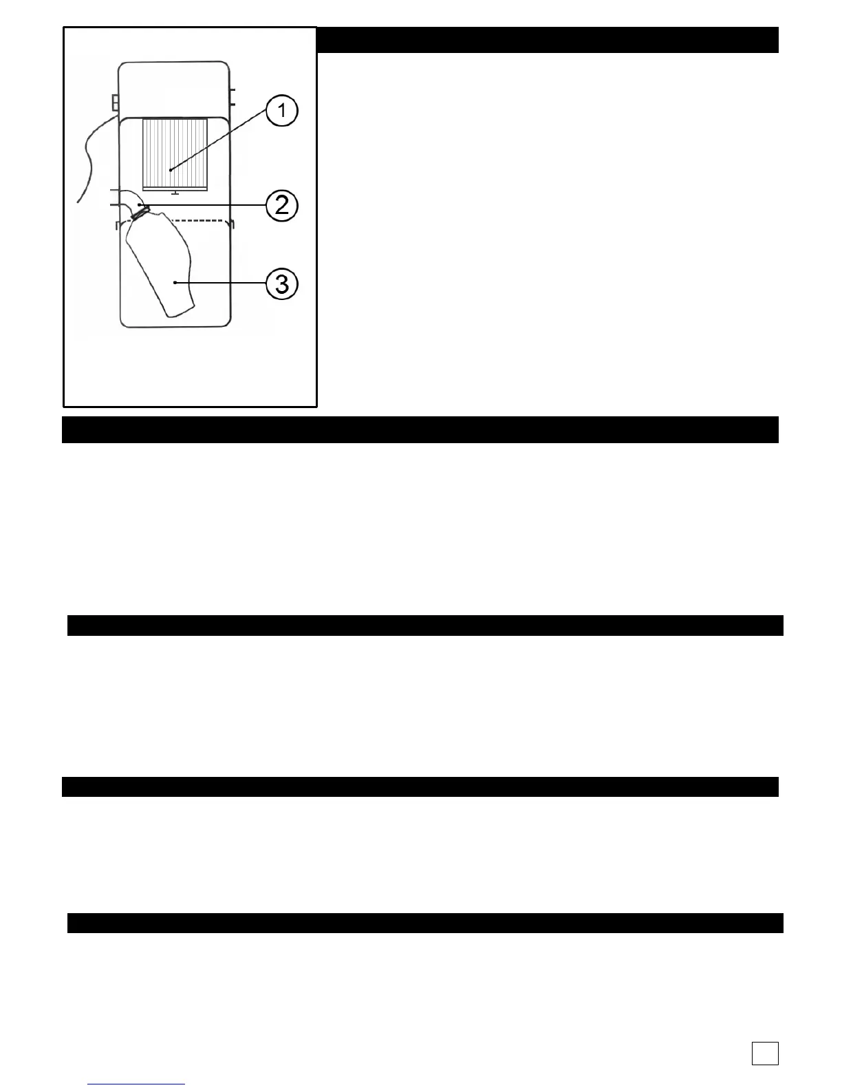
23$ )D, is an advanced antibacterial polyester filter which is washable and
can be re-used. For average use it is advisable to check and clean the filter once or
twice a month. For more intense use it should be checked more regularly to avoid
clogging up the filter. If the filter is dirty, it can be removed by loosening the locking
screw and washed with cold tap water.
The filter must be completely dry before placing back on the central vacuum cleaner.
( $!&RQ&"%&( )F&%*' &"! !)G, should be checked monthly.
If it is full, then it needs to be replaced by a new one. Replace it immediately when it
appears to be in poor condition or damaged.
3B3
3$ )  D , un mauvais entretien du filtre provoquant des problèmes moteur ou de carte électroniques
nécessitant un remplacement , celui-ci ne sera pas pris en charge au titre de la garantie.
Filtre antibactérien qui pointe en polyester est lavable et peut être réutilisé. Le filtre doit être vérifié fréquemment,
pour une utilisation moyenne (une fois / deux fois par semaine), il est conseillé de vérifier et de nettoyer le filtre
une fois par mois. Pour une utilisation plus intense alors il devrait être vérif plus régulièrement pour éviter le
colmatage du filtre. Si le filtre est sale, il peut être reti en desserrant la vis de blocage et lavé avec de l'eau
froide du robinet. Le filtre doit être complètement sec avant de le replacer sur l'aspirateur central.
( $!Q%&( & *)%&F '&! *)%(!*''$=)G, doit être vérifié tous les mois. Dès qu’il est
plein, il faut le remplacer par un neuf. Le remplacer immédiatement s’il est percé, déchiré ou en mauvais état.
3
3$ )!D, El mas avanzado em el mercado cuyo material es de poliester lavable, antibacteriano.
Debe verificarse de acuerdo com la intensidad de uso por la utilizacion, em una utilizacion media debera
cnprobar em plazos de un mês. Si se encuentra demsiado sucio se debe quitar aflojando el tornillo de bloqueo y
se lava com agua del grifo. Debera secarse bien cuando se colocar de nuevo em la central.
($!&Q%&( &%!)%<!'&F0<!'&! !)&%(!#!G: Se debe verificar al mes. Si la bolsa esta
sucia em su totulidad, debe ser substituido preferiblemente por una nueva. Substituyala cuando esta aparente
em mal estado o dañado.
P3
 3$ ) D, ein fortschrittlicher antibakterieller Polyester-Filter, der waschbar ist und wieder verwendet
werden kann. Der Filter muss regelmäßig überprüft werden, bei durchschnittlichem Gebrauch ca. 1-2 pro Woche.
Reinigen Sie den Filter einmal im Monat gründlich. Bei intensiver Benutzung sollte der Filter regelmäßig überprüft
werden, um eine Verstopfung des Filters vorzubeugen. Wenn der Filter verschmutzt ist, kann der Filter durch
Lösen der Feststellschraube entfernt und mit kaltem Leitungswasser gereinigt werden. Der Filter muss vollständig
trocken sein bevor dieser wieder im Zentralstaubsauger angebracht wird.
( $!&Q%&( )&'2F*% &*<<* ! !)G, sollte monatlich überprüft werden. Wenn es voll
ist, dann muss es durch einen neuen ersetzt werden. Ersetzen Sie es sofort, wenn es um in einem schlechten
Zustand oder beschädigt zu sein scheint.

9

Related product manuals