EasyManua.ls Logo

GVA DD1-10 - Parts List

GVA DD1-10
16 pages
Print Icon
To Next Page IconTo Next Page
To Next Page IconTo Next Page
To Previous Page IconTo Previous Page
To Previous Page IconTo Previous Page
Loading...
1
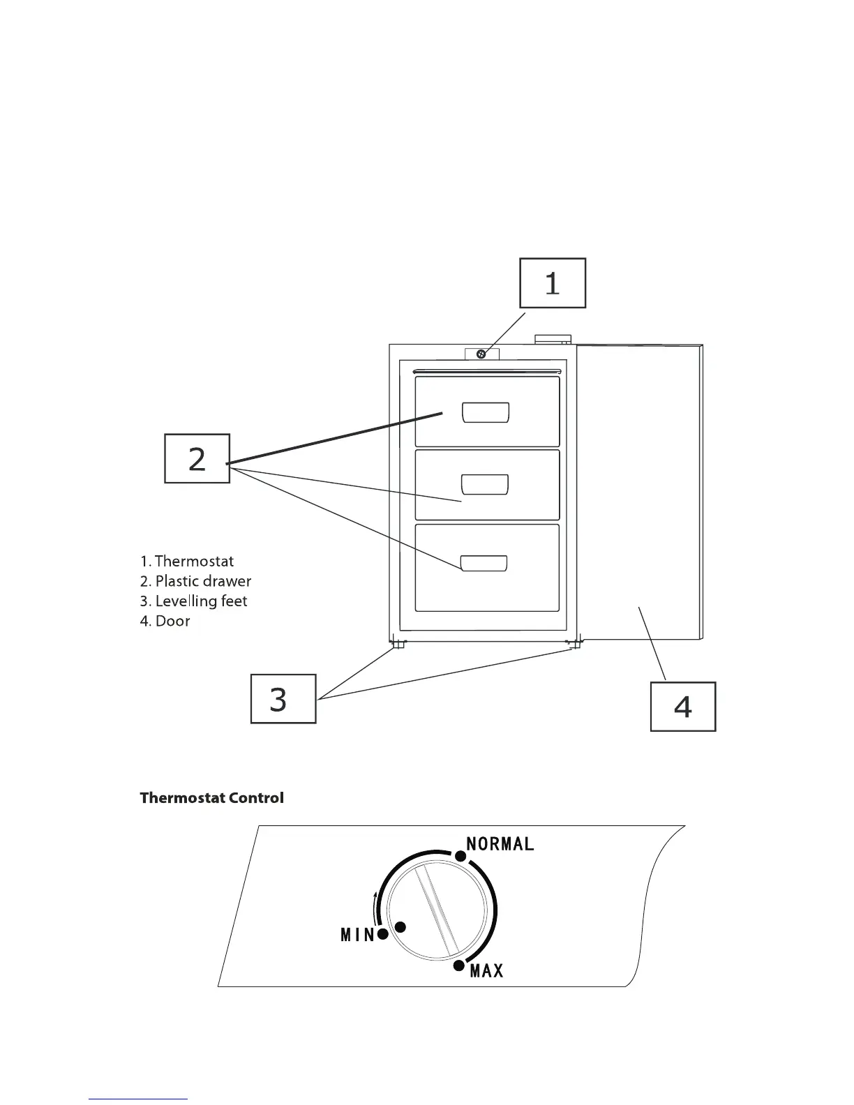
Parts List
NOTE: Due to the productions improvement, the unit you purchased may vary slightly from
below sketch.

Related product manuals