EasyManua.ls Logo

Gym Dandy TT-210 - Assembly Instruction; Step 1

Gym Dandy TT-210
11 pages
Print Icon
To Next Page IconTo Next Page
To Next Page IconTo Next Page
To Previous Page IconTo Previous Page
To Previous Page IconTo Previous Page
Loading...
ASSEMBLY INSTRUCTION
Tools Required for Assembling the Equipment: Two Adjustable Wrenches and Allen Wrench
NOTE: It is strongly recommended that two or more people assemble this machine to avoid
possible injury.
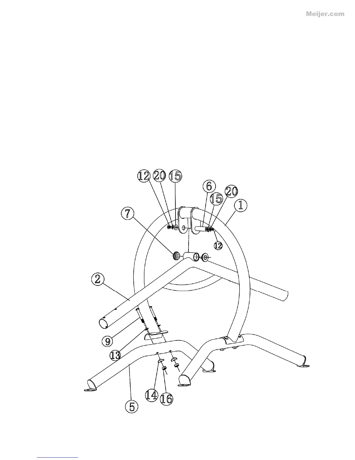
STEP 1 (See Diagram 1)
A.) Place the two Base Stabilizers (#5) on a flat surface. Attach one end of the Main Frame (#1) to a
Base Stabilizer. Secure it with two M10 x 2 5/8” Allen Bolts (#9), two Ø ¾” Bent Washers (#13),
two Ø 1 1/8” Bent Washers (#14), and two M10 Aircraft Nuts (#16).
B.) Repeat the same procedure to install the other Base Stabilizer.
C.) NOTE: Soliciting help from another person is strongly recommended for this step. Place the
Pivot on the Swing Frame (#2) in between the brackets on the Main Frame. Attach a Bushing
(#7) to each end of the Bracket.
D.) Align the holes then insert the Axle (#6) through the holes and secure it with one M10 x 5/8”
Allen Bolt (#12), one Ø ¾” Lock Washer (#20), and one Ø 1” Washer (#15) on each end of the
Axle. Do not over tighten the Bolts. Make sure the Swing Frame is able to swing smoothly.
DIAGRAM 1
6
Meijer.com