EasyManua.ls Logo

Gymax HW64402 - Page 8

Default Icon
17 pages
Print Icon
To Next Page IconTo Next Page
To Next Page IconTo Next Page
To Previous Page IconTo Previous Page
To Previous Page IconTo Previous Page
Loading...
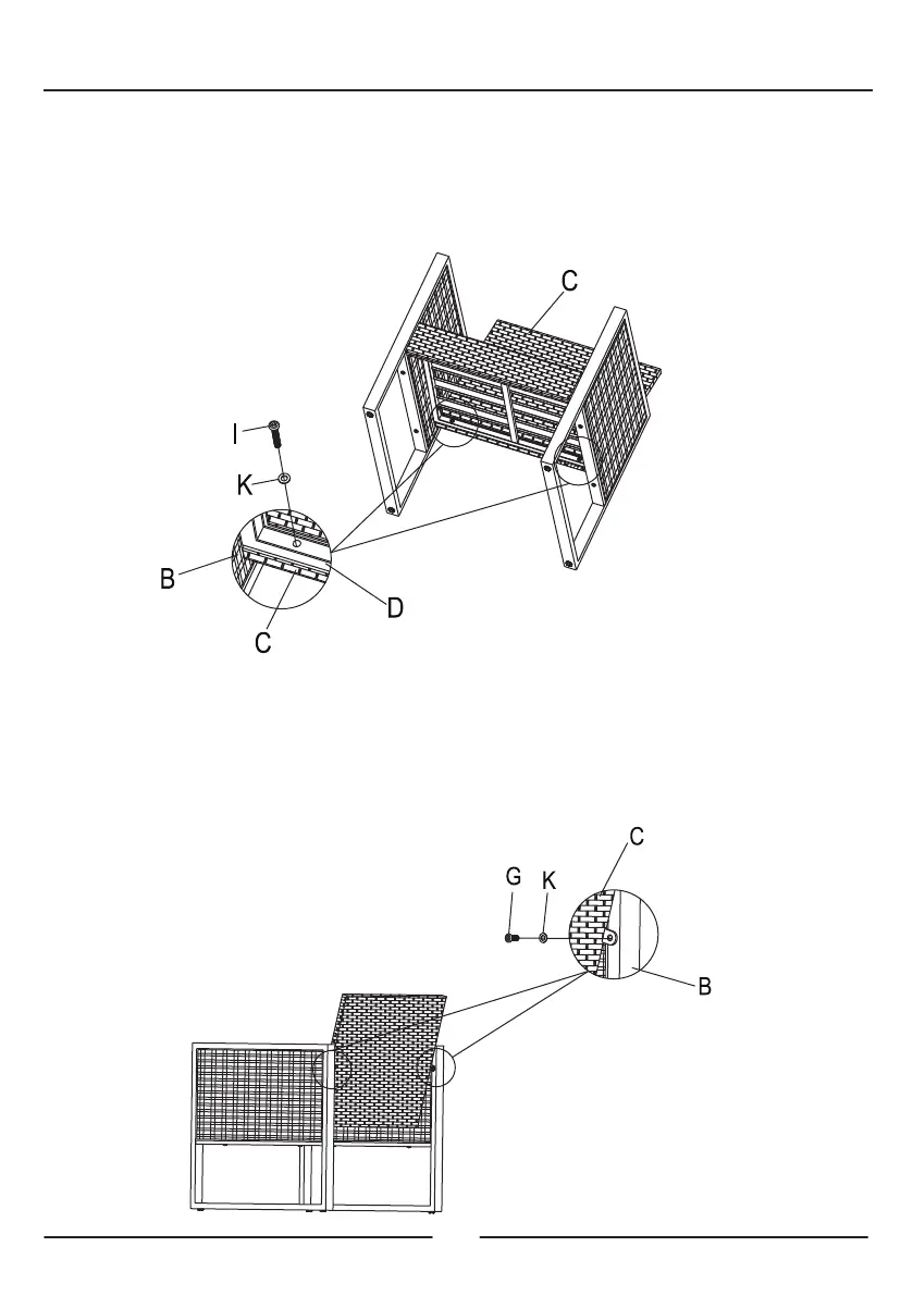
Aached the back(C) to the seat (D) by inserng
bolts(I) with washers (K).
Aached the back(C) to the arm (A&B) by inserng
bolts (G) with washers (K).
STEP 3
STEP 4
08

Related product manuals