EasyManua.ls Logo

Hagen Fluval 2 Plus - Filter Maintenance; Cleaning and Servicing

Hagen Fluval 2 Plus
24 pages
Print Icon
To Next Page IconTo Next Page
To Next Page IconTo Next Page
To Previous Page IconTo Previous Page
To Previous Page IconTo Previous Page
Loading...
into the water outlet on the filter, making sure that the
hole is facing up. (B)
Note: If the adapter is to be used as a hose adapter or if the
unit is to be used at the bottom of an aquarium, the Airflow
Control Venturi Nozzle hole should be blocked with the
attached stopper. This will ensure maximum water flow.
(See B.2)
3. Push the airflow control device /venturi valve into the
top of the nozzle. (C)
4. Slide the suction cup bracket onto the rear of the filter
and hold it in place while attaching the filter to the
inside of the aquarium. (D)
5. Ensure the outlet is at a minimum of 1 cm below the
aquariums water surface. (See D.2)
Note: In order to have the airflow control device/venturi
valve work properly, it must remain above water. Turning the
valve located on the top of the airflow control device/venturi
valve will regulate the quantity of air produced. (See D.3)
6. Plug into power source. (E)
Adjust the water jet direction by moving the horizontal
water outlet from side to side. (F) Adjust the water flow
rate by moving the waterflow adjuster from + to (G)
Fluval models 2, 3 and 4 Plus have a clogging indicator fea-
ture. The yellow clogging indicator is located on the top of
the filter. The device will retract when the filtering media is
clogged.
Caution: This device is directly influenced by the position of
the water flow adjuster and by the accessories installed on
the horizontal water outlet. A correct indication is only possi-
ble when the water flow adjuster is set to maximum and
no accessories are connected to the horizontal water outlet.
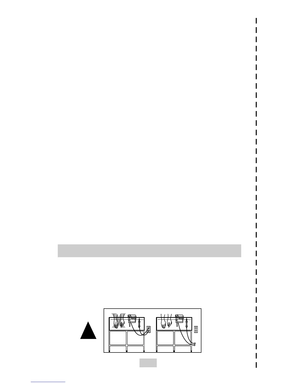
FILTER MAINTENANCE
CAUTION: Disconnect the electrical plug of all appliances
inside the aquarium before putting hands in the water.
We recommend cleaning the magnetic impeller and
impeller well (where the magnetic impeller is located) at
least once every two months. Its a good idea to clean the
motor when servicing the filter media.
AquaClear AquaClear
!
4

Related product manuals