EasyManua.ls Logo

Haier AFD631CB - Funktionsbeschreibung

Haier AFD631CB
196 pages
Print Icon
To Next Page IconTo Next Page
To Next Page IconTo Next Page
To Previous Page IconTo Previous Page
To Previous Page IconTo Previous Page
Loading...
Funktionsbeschreibung
1 Modelle:
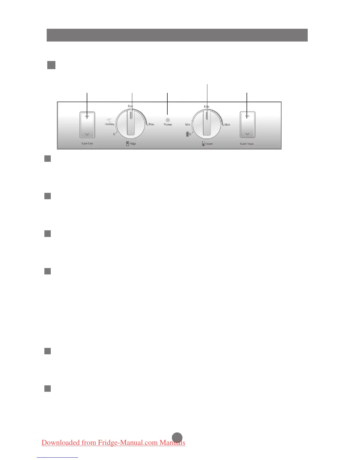
Bedienfeld
Schnellgefrieren-
Taste
Kühltemperatur-
Einstellknopf
Betriebsanzeige
Gefriertemperatur-
Einstellknopf
Erstes Einschalten
Die Betriebsanzeige leuchtet auf, sobald das Gerät mit Strom versorgt wird. Ein Alarm wird signalisiert, da
die Temperatur im Gefrierbereich noch relativ hoch ist. Sie können den Alarm abschalten, indem Sie eine
beliebige Taste drücken.
Sie können die Temperatur des Kühlbereiches durch Drehen des Kühlbereichtemperatur-Einstellknopfes
vorgeben. Zur Kühlung stehen Ihnen drei Temperatureinstellungen zur Auswahl: Urlaub, Mittel und
Superkühl.
Die Temperatur des Gefrierbereiches können Sie durch Drehen des Gefrierbereichtemperatur-
Einstellknopfes vorgeben. Zum Gefrieren stehen Ihnen drei Temperatureinstellungen zur Auswahl: Schwach,
Mittel und Eiskalt.
Diese Funktion wählen Sie, nachdem Sie frische Lebensmittel in den Kühlbereich gegeben haben. Drücken
Sie die Schnellkühlen-Taste - die Funktion wird eingeschaltet, der entsprechende Indikator leuchtet auf.
Diese Funktion schaltet sich automatisch ab, sobald die richtige Temperatur erreicht ist. Sie können sie auch
ausschalten, indem Sie die Schnellkühlen-Taste noch einmal drücken.
Kühltemperatur einstellen
Gefriertemperatur einstellen
Schnellkühlen
Schnellgefrieren
Urlaubsfunktion
Ist die Temperatur im Gefrierfach zu niedrig, funktioniert die Superkühlfunktion eventuell nicht. Dies bedeuet,
dass beim einmaligen Drücken der “Superkühlen”-Taste der Summer einen Signalton ausgibt und die
Anzeige nicht blinkt. Dies bedeutet, dass die Temperatur im Gefrierfach zu niedrig ist und die
Superkühlfunktion nicht aktiviert zu werden braucht.
Sie bitte 24 Stunden vorher die Super Gefrierfunktion ein. Diese Funktion wird wird nach 56 Stunden
automatisch wieder abgeschaltet. Durch erneutes drücken der Taste Super Freeze können Sie die
Einstellung auch manuell deaktivieren.
Schnellkühlen-Taste
CFE533CW/CFE533AW/CFE633CS/CFE633CW/CFE629CW
CFE629CS/CFE629CB/CFE629CB/U
11
Downloaded from Fridge-Manual.com Manuals

Table of Contents

Related product manuals