EasyManua.ls Logo

Haier HTW 5618CNMG - Page 517

Haier HTW 5618CNMG
554 pages
To Next Page IconTo Next Page
To Next Page IconTo Next Page
To Previous Page IconTo Previous Page
To Previous Page IconTo Previous Page
Loading...
RO
Descrierea produsului
517
Descrierea produsu lui
OBSERVAȚIE
Ca urmare a modificărilor tehnice și a diferitelor modele, unele ilustrații din acest
manual pot diferi de modelul dvs.
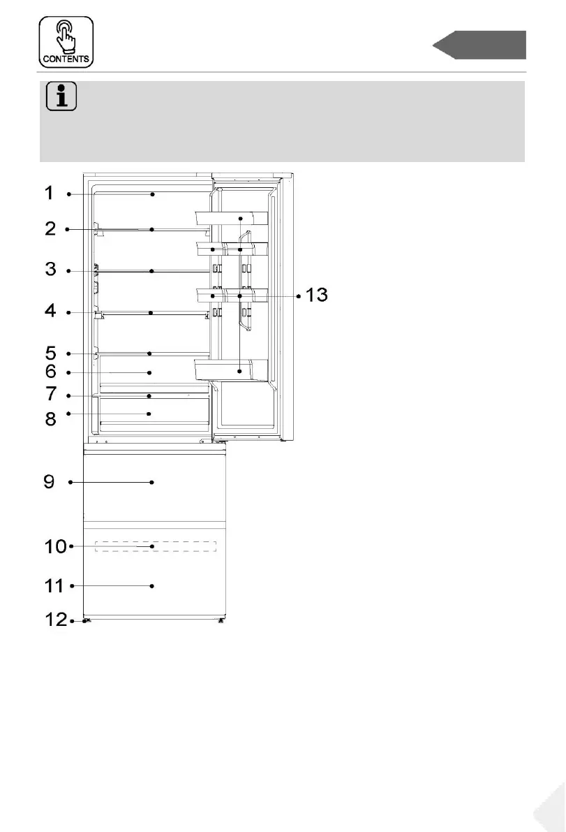
(HTW5620DN*, HTW5620CN*)
1-Lampă cu LED-uri pentru frigider
2-Suport pentru vinuri
3-Raft din sticlă
4-Raft rabatabil
5-Capacul sertarului Humidity Zone
6-Sertar Humidity Zone
7-Capacul sertarului My Zone
8-Sertarul My Zone
9-Sertar de depozitare superior
congelator
10-Tavă congelator
11-Sertar de depozitare inferior
congelator
12-Picioare ajustabile
13-Sertar de depozitare pe ușă

Related product manuals