EasyManua.ls Logo

Hammond A - Page 161

Hammond A
298 pages
Print Icon
To Next Page IconTo Next Page
To Next Page IconTo Next Page
To Previous Page IconTo Previous Page
To Previous Page IconTo Previous Page
Loading...
*
*Note: On consoles with Start and Run switches in wood end block (B-3, C-3, RT-3) increase this
dimension to 3 & 17/32
INSTALLING KIT IN EARLY MODEL BAND BC CONSOLES WITH NO OUTLET BOX
When installing an echo kit in one of these consoles, it is preferable that an
outlet box be installed at the same time.
(a) Obtain one outlet box with 6-conductor receptacle, 2 conductor plug and mounting
screws; one 6-conductor plug, and one plug cap, stating the model and serial number
of the console.
(b) Follow steps 1, 2, 3, and 4 above.
(c) Mount echo receptacle in outlet box (see figure 5). Cut off 6-conductor cable to
proper length to connect it to outlet box, and mount 6-conductor plug and plug cap
on remaining piece of cable. Figure 6 shows connections to plug and receptacle.
(d) Follow remaining part of step 6 and follow steps 7 and 8. Figure 7 shows
position in which outlet box should be mounted on console.
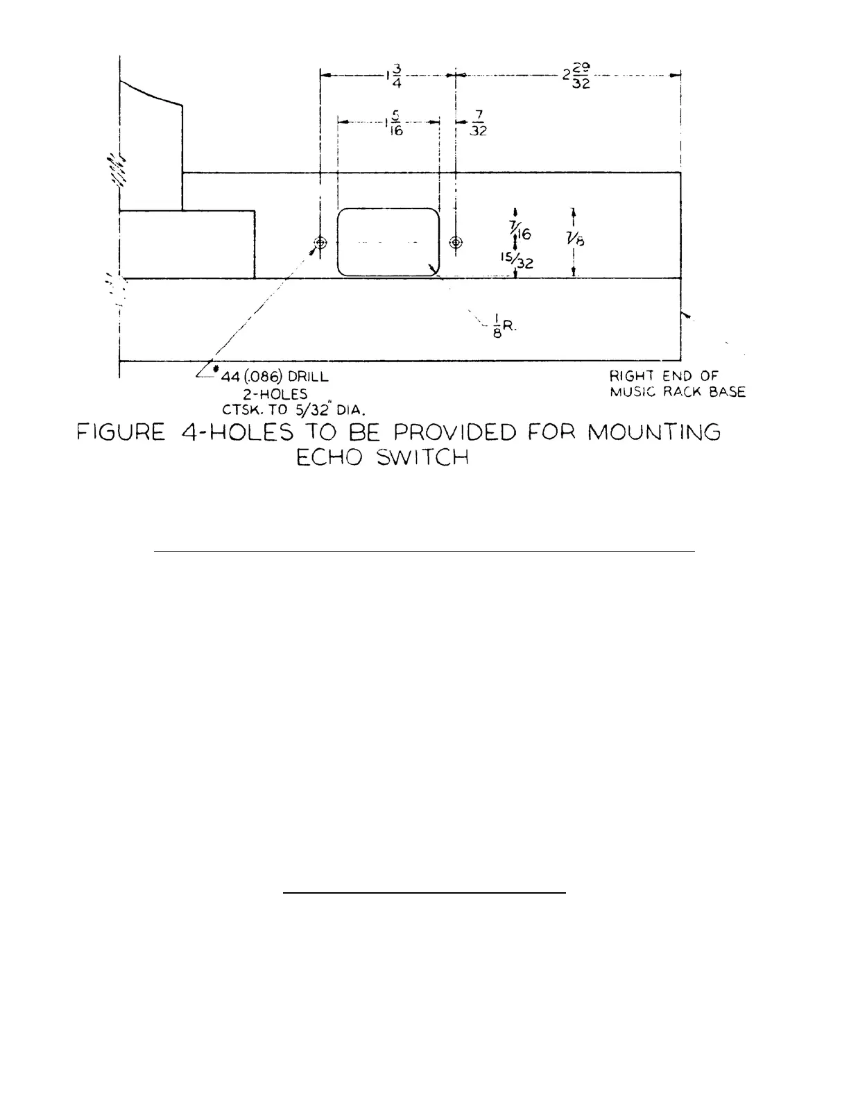
INSTALLING KIT IN MODEL A CONSOLES
In this model the installation of the echo switch is complicated by the fact that
the right hand wooden end block is very thick and has no flat front surface to
accommodate the switch plate. Electrically the installation is the same as for the
other models.
4

Related product manuals