EasyManua.ls Logo

Hammond A - Page 69

Hammond A
298 pages
Print Icon
To Next Page IconTo Next Page
To Next Page IconTo Next Page
To Previous Page IconTo Previous Page
To Previous Page IconTo Previous Page
Loading...
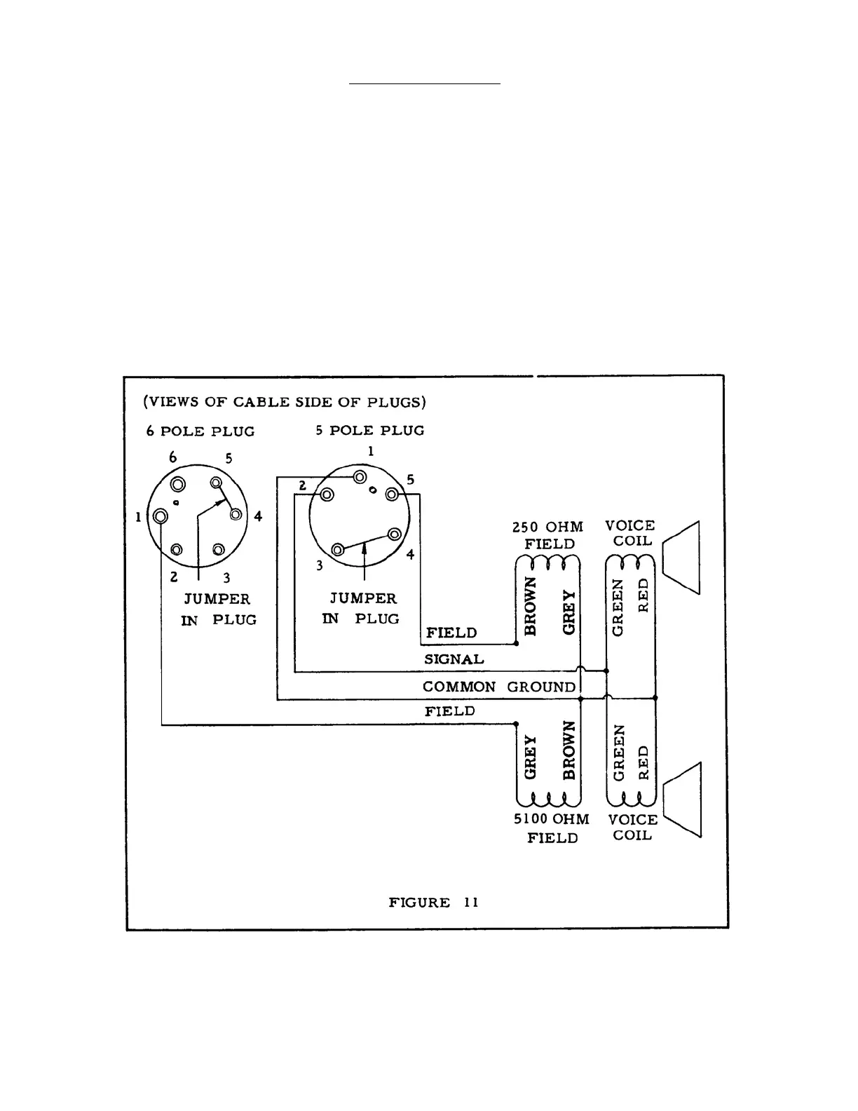
EXTENDING SPEAKERS.
When using one or more 2O-watt kits in an installation it is sometimes
necessary, because of lack of space or for convenience in future servicing,
to place the amplifiers some distance from the speakers. Should this become
necessary, the leads to the speakers can be consolidated in four conductors.
Figure 11 shows how this is accomplished, using the two male plugs on the
speakers. In this arrangement the stud connections are not necessary.
The conductors used for this extension must have insulation to withstand
300 volts and wire size should not be less than # 14. Ordinary # 14 house wiring
wire, with rubber or plastic insulation, is suitable.
8

Related product manuals