EasyManua.ls Logo

Hammond B-3P - Front Panel Assembly Parts

Hammond B-3P
35 pages
Print Icon
To Next Page IconTo Next Page
To Next Page IconTo Next Page
To Previous Page IconTo Previous Page
To Previous Page IconTo Previous Page
Loading...
13
28
14
B-3P
8-7
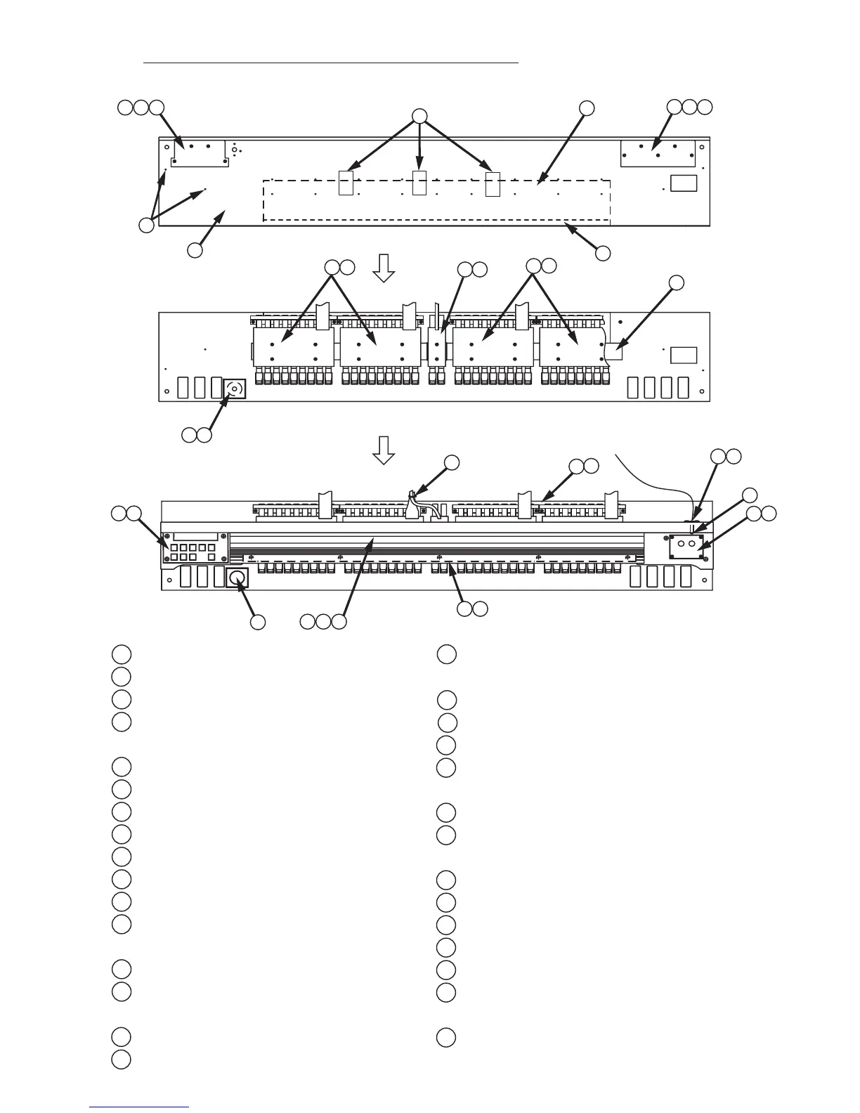
9.FRONT PANEL ASS'Y(66371-02102)
27
8
23
4
3
25
6
5
9
2
1
7
20
15
23
16
11
24
21
21
10
21
18
4
22
17
12
19
4
29
26
30
30
1
2
3
4
00451-40438
66311-02103
66311-02104
00623-53006
66311-01221
00703-24035
00451-40256
00613-64008
00452-40137
11
12
13
14
15
10
00451-40276
5
6
7
8
9
00278-09241
00278-09242
00278-02208
00451-40288
66311-02122
Drawbar Panel B3P
Switch FPL Ass'y
Switch FPR Ass'y
Tapping Screw Type 2
(Bind,Ø3x6,ZnB)
Drawbar Ass'y DB-409E
Drawbar Ass'y DB-409G
Drawbar Ass'y DB-402G
Drawbar Plate B3
Vibrato SW Ass'y
Vib Knob Plate
Music Stopper Ass'y
Machine Screw
(Oval,M4x35,ZnB)
Drawbar Cover
Tapping Screw Type 1
(Truss,Ø4x8,ZnB)
V/C Knob (B-3)
66311-0211116
Power Panel B3 Ass'y
17
18
19
20
21
22
23
24
25
26
27
28
29
30
00613-23012
00451-40322
00728-84000
00340-07002
00623-53025
00232-14246
00613-53012
00452-40140
00453-40155
00453-40006
00340-06018
66371-02105
00613-53008
66311-02105
(Oval,Ø3x12,ZnB)
Tapping Screw Type 1
Drawbar Support
Hexagon Nut With Flange
Wire Tie
Tapping Screw Type 2
(Bind,Ø3x25,ZnB)
IFH-14A Ass'y
Tapping Screw Type 1
(Bind,Ø3x12,ZnB)
Pilot Lamp Lens
Aluminum Sheet (FL)
Conducting Tape
Cable Clamp
Edit Panel Ass'y
Tapping Screw Type 1
(Bind,Ø3x8,ZnB)
Switch B3 Set

Related product manuals