EasyManua.ls Logo

Hardlife Utility C2040H - Page 5

Default Icon
11 pages
To Next Page IconTo Next Page
To Next Page IconTo Next Page
To Previous Page IconTo Previous Page
To Previous Page IconTo Previous Page
Loading...
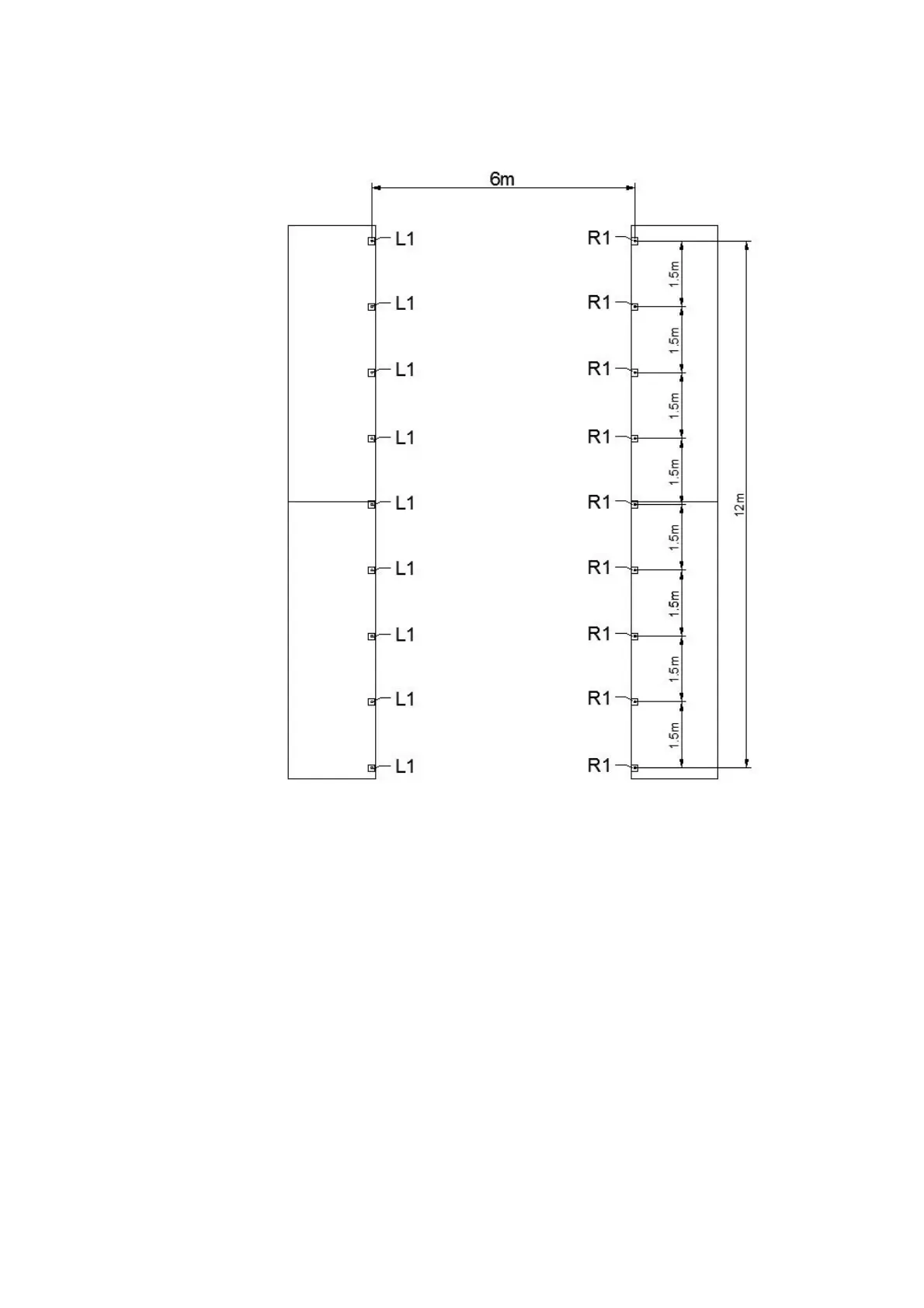
Above is base plates lay out for C2040H
Figure 1
1. The measure is from center to center of the tubes. Referring to the above diagram
and confirm the place of the base plates. ENSURE THAT THE FOUNDATIONS IS
SQUARE.
2.All the base plates need use welder to be welded on the Containers.

Related product manuals