EasyManua.ls Logo

Hatz 2-4M41. - Page 16

Hatz 2-4M41.
81 pages
Print Icon
To Next Page IconTo Next Page
To Next Page IconTo Next Page
To Previous Page IconTo Previous Page
To Previous Page IconTo Previous Page
Loading...
If possible, disengage the engine from any
driven equipment.
The auxiliary equipment should always be placed
in neutral.
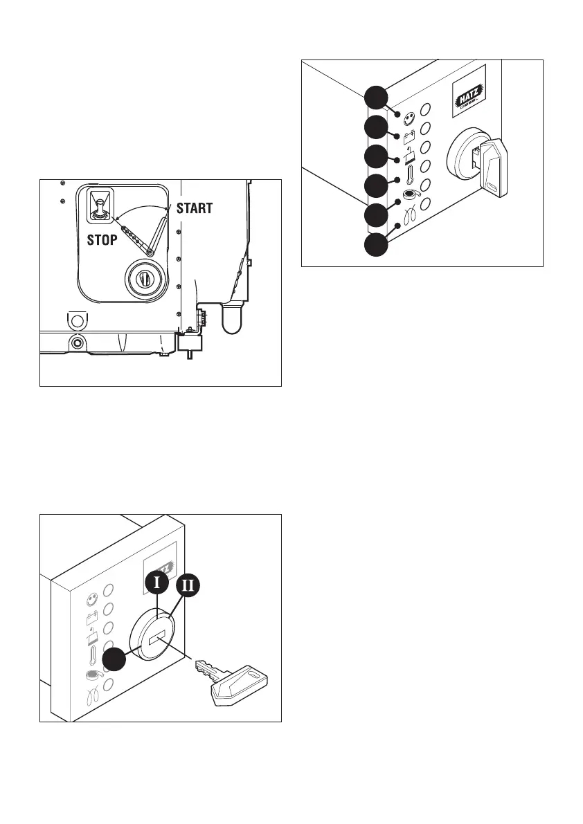
4.2.1. Starting with the electric starter
13
Move the speed control lever to the 1/2 START
or max. START position, according to require-
ments and starting conditions.
Note that a lower speed setting will cause less
exhaust smoke when starting.
14
– Insert the key to its stop and turn it to
position I.
0
15
– Battery charge telltale „2“ and oil pressure
warning „3“ must light up.
– Turn start key to position II (Fig. 14).
– As soon as the engine runs, release the start
key. It must return to position I by itself and
remain in this position during operation.
The battery charge telltale and oil pressure
warning must go out immediately after start-
ing. Indicator light „1“ is on when the engine is
in operation.
– The air cleaner maintenance indicator „5“ only
lights up during operation if the air cleaner ele-
ment needs to be cleaned or renewed (Fig. 15,
see chapter 5.4.2.).
– The engine temperature display „4“ (additional
equipment) lights up if the temperature at the
cylinder head becomes too high.
Switch off the engine and trace and elimi-
nate the cause of the problem, see chapter 7.
– Always turn the start key back to position 0
before re-starting the engine. The repeat lock
in the ignition lock prevents the starter motor
from engaging and possibly being damaged
while the engine is still running.
1
2
3
4
5
6
15

Related product manuals