EasyManua.ls Logo

HEADQUARTERS OH-58C - Page 44

Default Icon
292 pages
Print Icon
To Next Page IconTo Next Page
To Next Page IconTo Next Page
To Previous Page IconTo Previous Page
To Previous Page IconTo Previous Page
Loading...
TM 55-1520-228-10
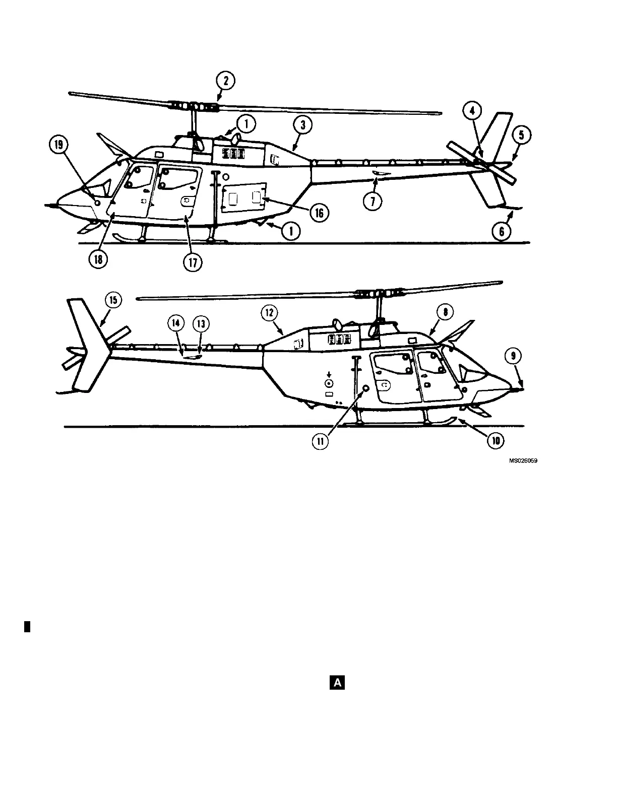
1.
Anti-Collision Light
11.
Fuel Filler Cap
2. Main Rotor Hub and Blades 12.
Aft Engine Cowling
3.
Engine Oil Tank Drain Access Door
13.
Position Light (Green)
4. Tail Rotor Hub and Blade 14.
Horizontal Stabilizer
5.
Position Light (White)
15. Vertical Fin
6.
Tail Skid
16.
Battery and Avionics Compartment Door
7.
Position Light (Red)
17.
Passenger Door (Left)
8. Forward Transmission Fairing 18.
Copilot Door
9. Pitot Tube 19.
Left Static Port
10.
Landing Gear
Figure 2-1. General Arrangement (Sheet 1 of 2)
2-2 Change 12

Related product manuals