EasyManua.ls Logo

HEADQUARTERS OH-58C - Page 50

Default Icon
292 pages
Print Icon
To Next Page IconTo Next Page
To Next Page IconTo Next Page
To Previous Page IconTo Previous Page
To Previous Page IconTo Previous Page
Loading...
TM 55-1520-228-10
NOTE
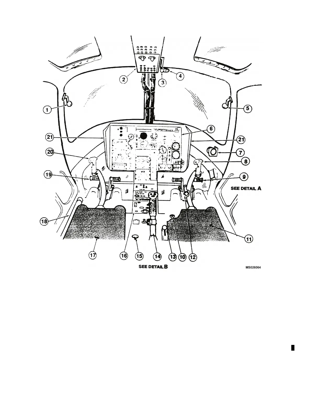
Round glass model shown
1. Copilot Door Emergency Jettison Handle 12. Anti-Torque Pedal Adjuster
2. Overhead Console 13. Inertia Reel Control Handle
3. Fuel ShutoffValve 14. Pilot Collective Stick
4. Free Air Temperature (FAT) Gage 15. CollectiveFrictionControlAdjustment
5. Pilot Door Emergency Jettison Handle 16. Console
6. Instrument Panel 17. Co pilot Seat
7. Magnetic Com pass 18. Copilot Collective Stick
8. Pilot Cyclic Stick 19. Copilot Ant i-Torque Pedals
9. Pilot Anti-Torque Pedals 20. Copilot Cyclic Stick
10. Cyclic Friction Control Adjustment 21. Glareshield
11. Pilot Seat
Figure 2-4. Pilot and Copilot/Observer Station Diagram (Sheet 1 of 3)
2-8 Change 14

Related product manuals