EasyManua.ls Logo

Heathkit SB-401 - Page 58

Heathkit SB-401
88 pages
Print Icon
To Next Page IconTo Next Page
To Next Page IconTo Next Page
To Previous Page IconTo Previous Page
To Previous Page IconTo Previous Page
Loading...
Ges
e4rexit]
V5
6EW6
HET.
MIXER
FROM
BANDPASS
COUPLER
FROM
HET.
OSC.
R207
|C2//
R208
|C2/2
R209
220K
TO
KEYED
BIAS
B+
GRN
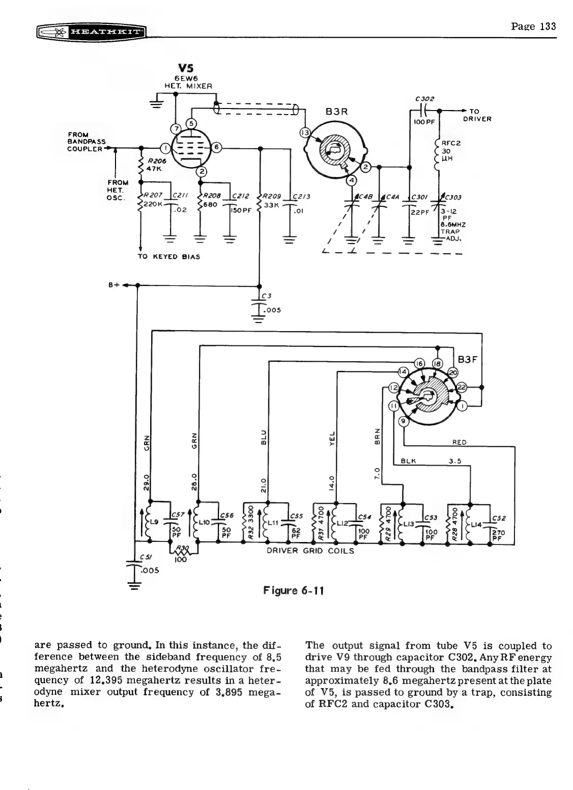
are
passed
to
ground,
In
this
instance,
the
dif-
ference
between
the
sideband
frequency
of
8,5
megahertz
and
the
heterodyne
oscillator
fre-
quency
of
12,395
megahertz
results
in
a
heter-
odyne
mixer
output
frequency
of
3,895
mega-
hertz,
680
33K
i‘
PF
|
DRIVER
GRID
COILS
Page
133
C302
To
100
PF
DRIVER
C2/3
CIB
\AC4A
{C30/
CIO3
.Ol
22PF
3-12
/
PF
/
/
8.6MHZ
/
/
TRAP
=
f=
OS
=
alee
L.
L
=
ee
————
=
Figure
6-11
The
output
signal
from
tube
V5
is
coupled
to
drive
V9
through
capacitor
C302,
Any
RF
energy
that
may
be
fed
through
the
bandpass
filter
at
approximately
8,6
megahertz
present
at
the
plate
of
V5,
is
passed
to
ground
by
a
trap,
consisting
of
RFC2
and
capacitor
C303,

Related product manuals