EasyManua.ls Logo

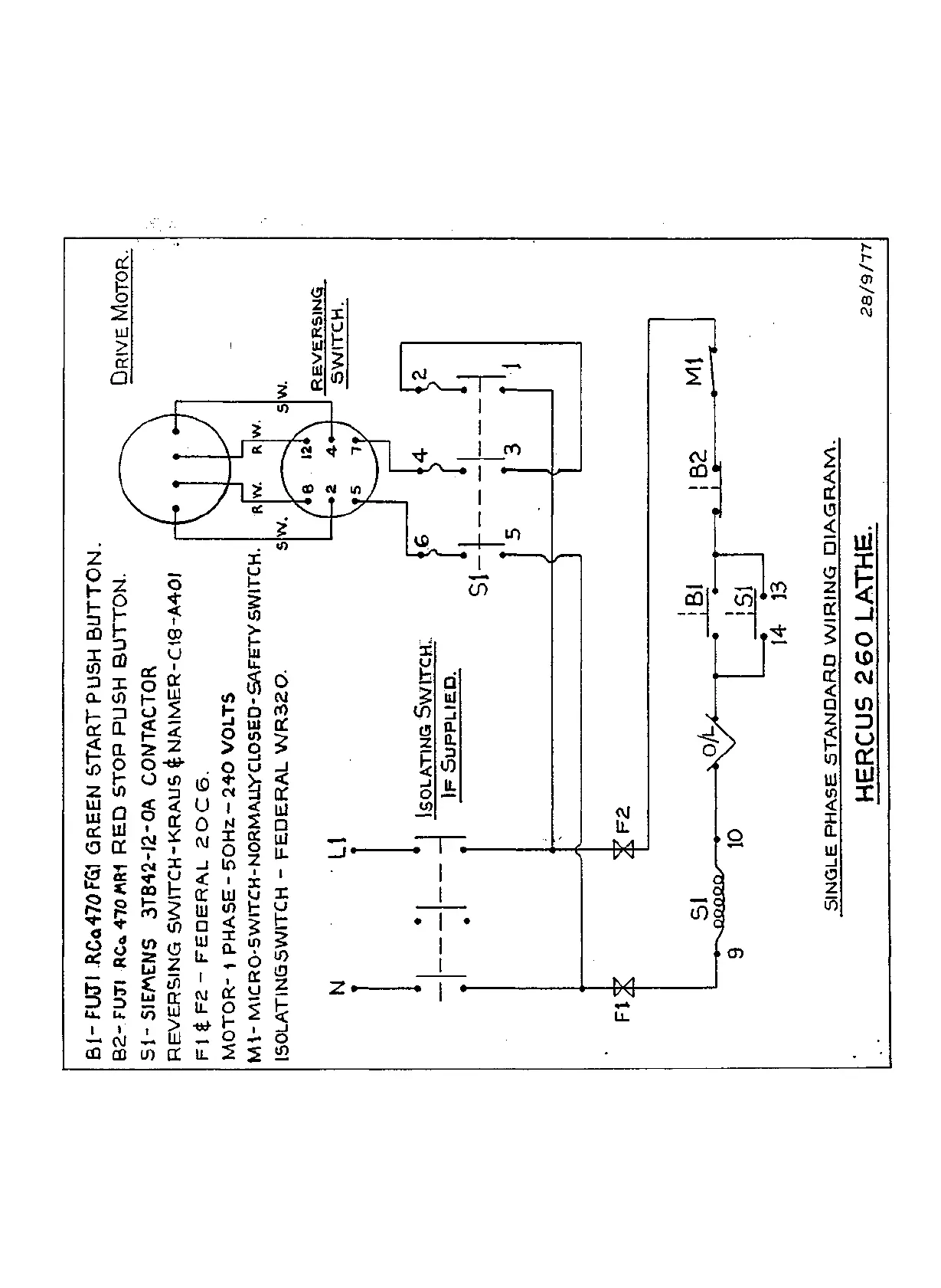
Hercus 260 - Single Phase Standard Wiring Diagram

Hercus 260
24 pages
Print Icon
To Next Page IconTo Next Page
To Next Page IconTo Next Page
To Previous Page IconTo Previous Page
To Previous Page IconTo Previous Page
Loading...