EasyManua.ls Logo

Hisun HS5DUTV-2 - Page 49

Hisun HS5DUTV-2
355 pages
Print Icon
To Next Page IconTo Next Page
To Next Page IconTo Next Page
To Previous Page IconTo Previous Page
To Previous Page IconTo Previous Page
Loading...
MAINTENANCE AND ADJUSTMENT OF THE EV
49
2. When in storage, make sure the spindle and anvil faces do not contact each other or
another object. If they do, temperature changes and corrosion may damage the
contact faces.
3. Do not clean a micrometer with compressed air. Dirt
forced into the tool will cause wear.
4. Lubricate micrometers with WD-40 to prevent
corrosion.
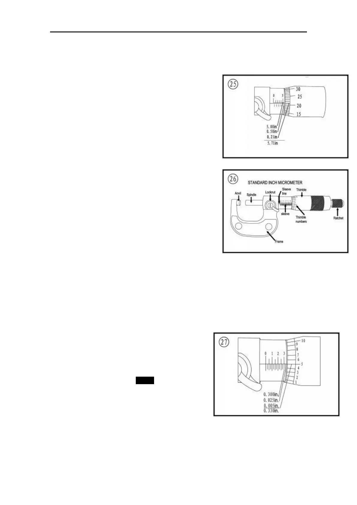
Metric micrometer
The standard metric micrometer (Figure 24) is
accurate to one one-hundredth of a millimeter (0.01
mm). The sleeve line is graduated in millimeter and half
millimeter increments. The marks on the upper half of
the sleeve line equal 1.00 mm. Each fifth mark above
the sleeve line is identified with a number. The number
sequence depends on the size of the micrometer. A 0-
25 mm micrometer, for example, will have sleeve marks
numbered 0 through 25 in 5 mm increments. This
numbering sequence continues with larger micrometers.
On all metric micrometers, each mark on the lower half
of the sleeve equals 0.50 mm.
The tapered end of the thimble has 50 lines marked
around it. Each mark equals 0.01 mm. One completer turn of the thimble aligns its 0
mark with the first line lower half of the sleeve line or 0.50mm.
When reading a metric micrometer, add the number of millimeters and half-
millimeters on the sleeve line to the number of one one-hundredth millimeters on the
thimble. Perform the following steps while referring to Figure 25.
1. Read the upper half of the sleeve line and count the number of lines visible. Each
upper line equals 1mm.
2. See if the half millimeter line is visible on the
lower sleeve line. If so, add 0.50mm to the reading
in Step 1.
3. Read the thimble mark that aligns with the sleeve
line. Each thimble mark equals 0.01mm.
NOTE
If a thimble mark does not align exactly
with the sleeve line. Estimate the amount
between the lines. For accurate readings
in two-thousandths of a millimeter
(0.002mm), use a metric vernier micrometer.
4. Add the readings from Steps 1-3.