EasyManua.ls Logo

Hitachi CG24EKSL - Page 14

Hitachi CG24EKSL
44 pages
Print Icon
To Next Page IconTo Next Page
To Next Page IconTo Next Page
To Previous Page IconTo Previous Page
To Previous Page IconTo Previous Page
Loading...
Frangais 1
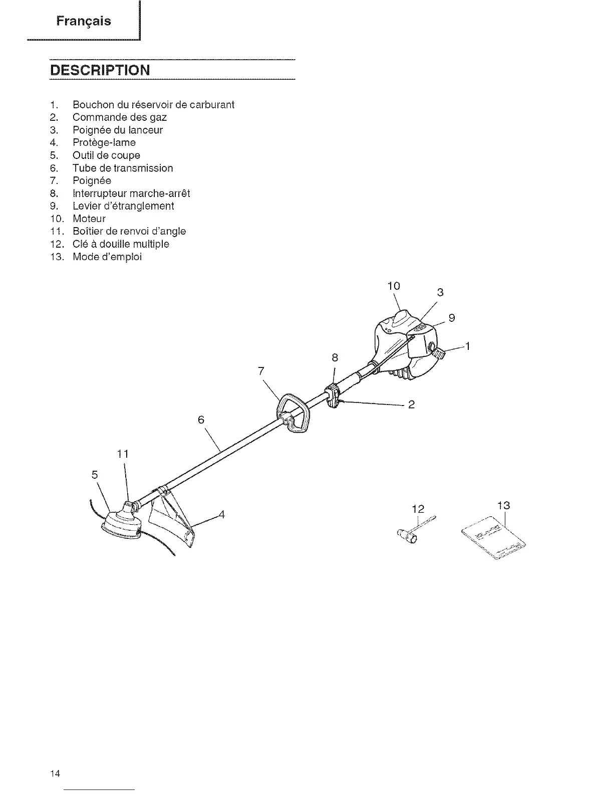
DESCRiPTiON
1. Bouchon du reservoir de carburant
2. Commande des gaz
3. Poignee du lanceur
4. Protege-lame
5. Outil de coupe
6. Tube detransmJssion
7. Poignee
8. Interrupteur marche-arrSt
9. Levier d'etranglement
10. Moteur
11. Boftier de renvoi d'angle
12. Cie & douille multiple
13. Mode d'emploi
10
3
9
7
\
14