EasyManua.ls Logo

Hitachi E24 - Mohíaühaü CXEMA

Hitachi E24
44 pages
Print Icon
To Next Page IconTo Next Page
To Next Page IconTo Next Page
To Previous Page IconTo Previous Page
To Previous Page IconTo Previous Page
Loading...
41
PìCCKàâ
E/G
è‡ÌÂθ ÛÔ‡‚ÎÂÌËfl
SW
OS
ÉÓÎÛ·ÓÈ
IG
OSU
SP
G/R
óÂÌ˚È
R
FC
SC
MC
MC
áÂÎÂÌ˚È
óÂÌ˚È
ä‡ÒÌ˚È
ä‡ÒÌ˚È
ÉÓÎÛ·ÓÈ
ÅÂÎ˚È
ÜÂÎÚ˚È
ÜÂÎÚ˚È
DC
DS
2P COUPLER
CB
REC
ET
C
CB
+
-
20µF
OSU
MOHíAÜHAü CXEMA
E24
E35, E40, E50, E57
E/G
è‡ÌÂθ ÛÔ‡‚ÎÂÌËfl
SW
OS
ÉÓÎÛ·ÓÈ
IG
OSU
SP
G/R
óÂÌ˚È
R
FC
SC
MC
MC
áÂÎÂÌ˚È
óÂÌ˚È
ä‡ÒÌ˚È
ä‡ÒÌ˚È
ÉÓÎÛ·ÓÈ
ÅÂÎ˚È
ÜÂÎÚ˚È
ÜÂÎÚ˚È
CB
CB
REC
ET
CC
DC
DS
+
-
OSU


 
  
 
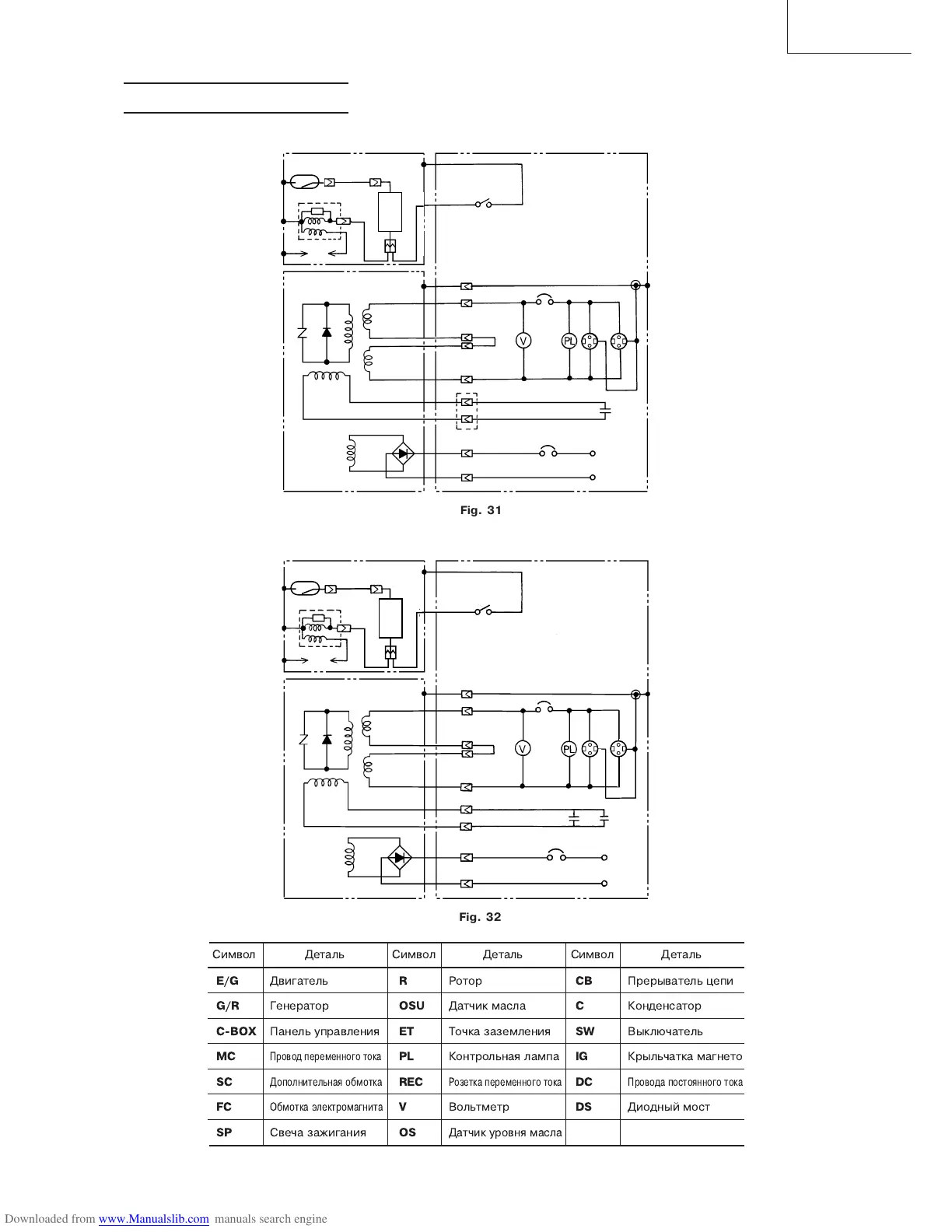
E/G
G/R
C-BOX
MC
SC
FC
SP


 
  
 
 
 !
     
R
OSU
ET
PL
REC
V
OS
"
 
#  
 
"   

  
CB
C
SW
IG
DC
DS
 $
Fig. 31
Fig. 32

Related product manuals