EasyManua.ls Logo

Hitachi FDV 16VB - Page 28

Hitachi FDV 16VB
52 pages
Print Icon
To Next Page IconTo Next Page
To Next Page IconTo Next Page
To Previous Page IconTo Previous Page
To Previous Page IconTo Previous Page
Loading...
Français
28
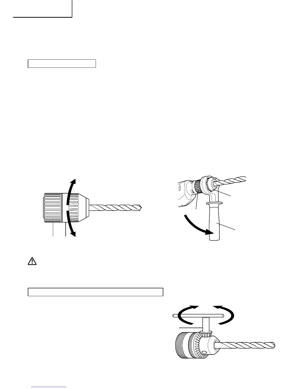
8. Sélection de la mèche
Les têtes de vis ou les mèches seront endommagées si la mèche utilisée nest pas
conforme au diamètre de la vis.
9. Montage et démontage des forets.
Pour mandrin sans clé
(1) Montage de la foret
Aprés avoir mis un foret de tournevis etc dans le mandrin sans clè, maintenir fermement
lanneau et serre le manchon en le tournant vers la droite (dans le sens des aiguilles dune
montre, vu de lavant). (Voir en Fig.4)
Si le manchon se desserre pendant le fonctionnement, le resserrer. La force de serrage
augmente lorsque le manchon est resserré.
(2) Démontage de la foret
Maintenir fermement lanneau et desserrer le manchon en le tournant vers la gauche
(dans le sens contraire des aiguilles dune montre, vu de lavant). (Voir en Fig.4)
REMARQUE
Si le manchon ne se desserre pas davantage, fixer la poignée latérale sur le manchon.
Puis, donner des coups sur la saisie de la poignée latérale vers la gauche de façon à
desserrer le manchon, tout en tenant la bague avec la main. (Fig.5)
Fig. 5Fig. 4
Serrer
Desserrer
Manchon
Anneau
Manchon
Poignée
laterale
Anneau
Desserrer
PRECAUTION:
Ne pas fixer la poignée latérale sur la bague du mandrin sans clé car cela pourrait
endommager la bague.
Pour le mandrin porte-foret avec clé à mandrin
Fixer le foret de perçage dans le mandrin
et utiliser la clef à mandrin pour le serrer,
en serrant le mandrin par ses trois trous.
(Fig. 6)
DesserrerSerrer
Clef pour
mendrin
Fig. 6

Table of Contents

Other manuals for Hitachi FDV 16VB

Related product manuals