EasyManua.ls Logo

Hoffmann geodyna 2300 - Page 28

Hoffmann geodyna 2300
126 pages
Print Icon
To Next Page IconTo Next Page
To Next Page IconTo Next Page
To Previous Page IconTo Previous Page
To Previous Page IconTo Previous Page
Loading...
32
29
14
15
1
12
3
4
8
5
18
713
610 2
9
16
17
11
19
14
15
1 2 3
6
5
4
7
6.2 Ejecución del lanzamiento de
compensación
Todas las herramientas de fijación y centrado han sido
equilibradas por el fabricante dentro de un grado de tolerancia
admisible.
Para compensar cualquier desequilibrio residual que pueda
quedar en los útiles de fijación, se recomienda ejecutar un
lanzamiento de compensación (véase también capítulo 10.
Selección del modo operativo). Este modo no puede ser
transferido a la memoria permanente.
La compensación será efectiva hasta que se cancele
mediante el código C4 o se inicie una optimización de la
suavidad de marcha o un calibrado por el usuario, o bien
hasta que se apague la máquina.
y Pulse y mantenga pulsada la tecla C (Figura 14,
Pos. 3), gire el mandril hasta que aparezca el código
C4 en el indicador y suelte.
y Pulse la tecla START.
El lanzamiento de compensación tarda más que un
lanzamiento de medición normal. Después de la
compensación, aparecerá C4 en el indicador izquierdo y el
estado 1 en el indicador derecho. El símbolo de la
compensación (Fig. 15, Pos. 10) aparecerá en el centro.
Si se usa otra herramienta de fijación:
y Repita el lanzamiento de compensación
o bien
y Elimine la compensación pulsando y manteniendo
pulsada la tecla de desequilibrios mínimos (Figura
14, Pos. 2) y girando la rueda introduzca el estado
0 en el visor.
En el indicador derecho aparece el estado 0.
6.3 Fijación de ruedas (ruedas de
turismo y camioneta)
Avisos
Antes de fijar la rueda, lea la anchura y el diámetro
de la llanta en el neumático o en la llanta.
Si se utilizan dispositivos de centrado por el agujero
central, no apriete nunca la tuerca de regulación
mediante martillos o herramientas similares.
y Antes de fijar la rueda, controle si las
superficies de contacto del cuerpo base y de
la llanta están exentas de grasa y suciedad.
y Fije la rueda en función de la herramienta
seleccionada, controlando la precisión del
centrado y el nivel de tensión.
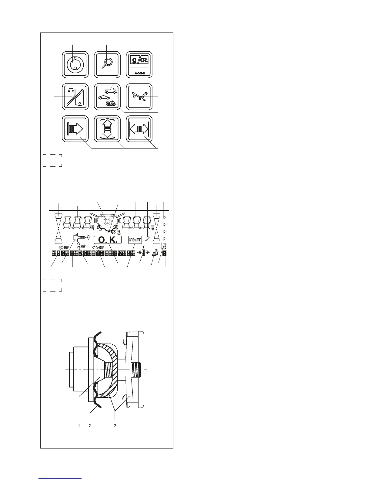
Fig. 29 Herramienta per fijación de ruedas a orificio
central
1 Cono de centrado
2 Llanta
3 Caja de presión y abrazadera para bloqueo de
seguridad

Table of Contents

Related product manuals