EasyManua.ls Logo

Hoffmann geodyna 2300 - Page 30

Hoffmann geodyna 2300
126 pages
Print Icon
To Next Page IconTo Next Page
To Next Page IconTo Next Page
To Previous Page IconTo Previous Page
To Previous Page IconTo Previous Page
Loading...
34
30
30/b
3
4
1
2
5
6
30/c
4
Fig. 30 Herramienta universal para la fijación de ruedas
a la llanta cerrada o centradas sobre bulones.
Esta morsa adaptadora también puede
bloquearse sobre el orificio central, utilizando
las anillas adecuadas (opcionales).
1 Llanta con orificio central
2 Abrazadera con bloqueo rápido
3 Anilla de centrado para llantas con orificio central
4 Anilla de centrado para llantas sin orificio central con
alojamiento de centrado
5 Llanta sin orificio central
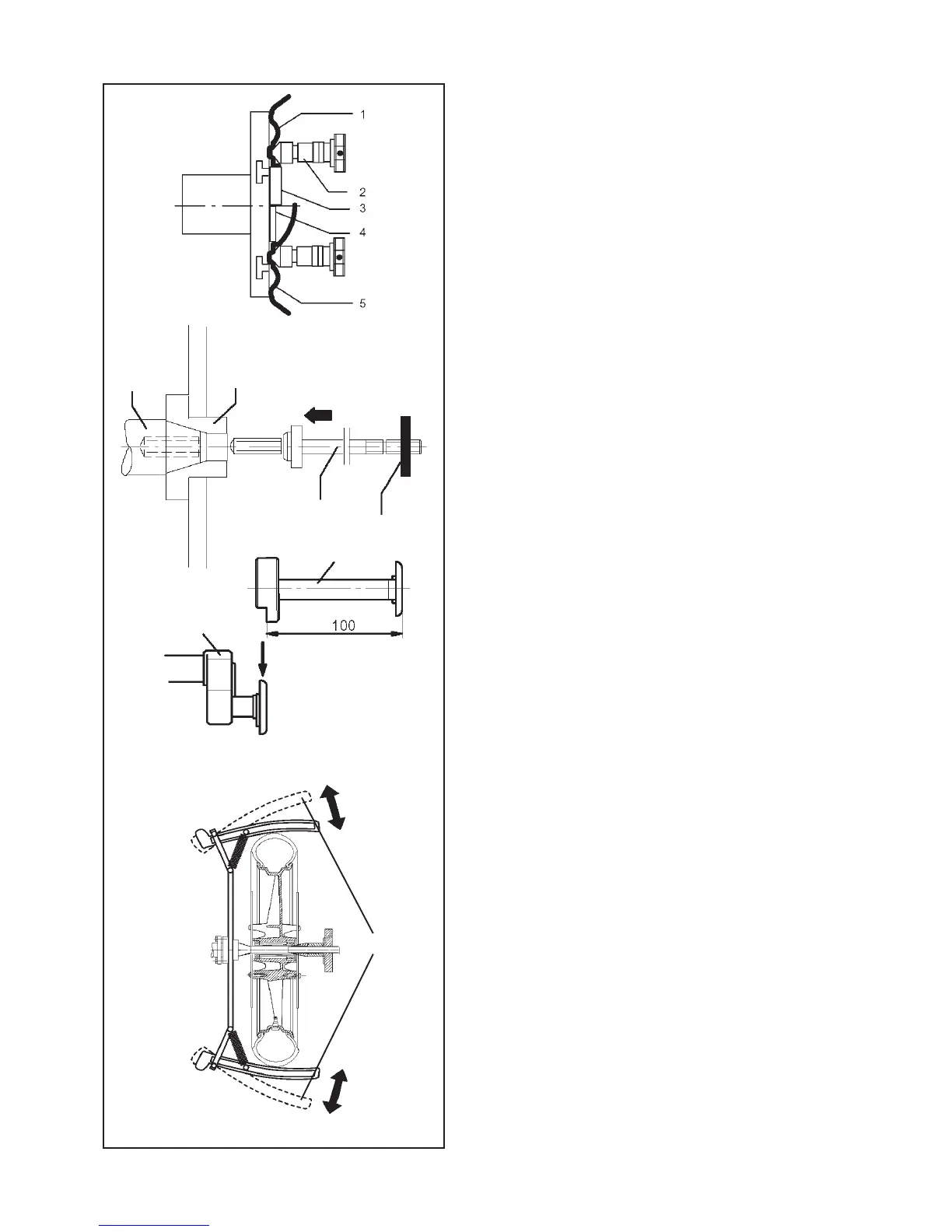
6.3.1 Fijación de ruedas de motocicleta
Montaje del adaptador para ruedas de motocicleta
El adaptador para ruedas de motocicleta debe ser montado
por el operador tal y como se ilustra a continuación.
Fig. 30/bAdaptador para ruedas de motocicleta
1 Adaptador base en versión estándar
2 Árbol principal equilibradora con orificio roscado
3 Eje en versión estándar
4 Tuerca de apretado M14 x 1.5
Desmonte el adaptador fijado sobre la equilibradora,
tal y como se especifica en el capítulo 6.1.
Haga deslizar el adaptador base (pos. 1) sobre el
cono del árbol principal.
Introduzca el eje (pos. 3) en el árbol y apriete usando
la llave de gancho suministrada.
Introduzca la extensión de medición (pos. 5) en la
punta del brazo para la distancia (pos. 6).
Controlar y eliminar el desequilibrio residual de la
herramienta de apretado
Para garantizar una buena calidad del equilibrado, el
desequilibrio residual no debe superar los 5 g, midiendo
la herramienta de apretado sin ninguna rueda montada.
Realice un lanzamiento de prueba sin rueda: abra
completamente los dos segmentos de arrastre (Fig.
30/c, pos. 4) hasta introducir los pernos de bloqueo;
asegúrese de que ambos alcanzan la posición!
Valores a programar para el lanzamiento de prueba:
tipo de vehículo: automóvil
distancia: 200 mm
diámetro: 15"
anchura: 3.5"
Si la indicación del desequilibrio es igual o superior
a 5 g, se aconseja compensar el desequilibrio del
adaptador con un lanzamiento de compensación.

Table of Contents

Related product manuals