EasyManua.ls Logo

Hoffmann geodyna 2300 - Page 94

Hoffmann geodyna 2300
126 pages
Print Icon
To Next Page IconTo Next Page
To Next Page IconTo Next Page
To Previous Page IconTo Previous Page
To Previous Page IconTo Previous Page
Loading...
98
108
109
110
Código de error fatal
El indicador muestra un código de seis cifras y/o letras.
Los códigos que inician con 300XXX señalan un error
que se ha presentado en fase de monitoreo interno, los
códigos que inician con C10XXX señalan un error que
se ha presentado en fase de autodiagnóstico después
de la puesta en marcha de la máquina.
y Si es necesario llame a la asistencia técnica.
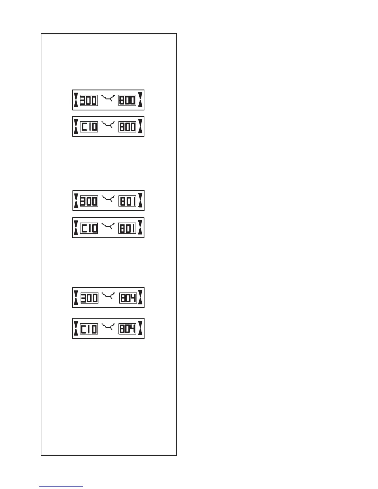
300 800 o 001 037 (C10 800) – Fig. 108
Tensión de alimentación de red eléctrica inferior a 170
V. Equilibrado posible si el motor consigue llevar el árbol
al régimen de medición. Los datos de rueda pueden
perderse.
y Lleve la tensión de alimentación de la red eléctrica
dentro de una gama de 200 - 230 - 240 Volt con un
transformador en entrada (ref. 6705 902).
300 801 o 001 036 (C10 801) – Fig. 109
Tensión de alimentación de la red eléctrica superior a
265V. La electrónica de la máquina está en peligro.
Desconecte el interruptor de red.
y Lleve la tensión de alimentación de la red eléctrica
dentro de una gamma de 200 - 230 - 240 Volt con
un transformador en entrada (ref. 6705 902).
300 804 (C10 804) – Fig. 110
Tensión de alimentación de la red eléctrica superior a
275 V. La electrónica de la máquina está en peligro.
Desconecte el interruptor de red. Los daños provocados
al repetirse esta anomalía no están cubiertos por la
garantía.
y Lleve la tensión de alimentación de la red eléctrica
dentro de una gamma de 200 - 230 - 240 Volt con
un transformador en entrada (ref. 6705 902).
Mensajes de error mediante señales acústicas
Los mensajes de error también pueden señalarse mediante
señales acústicas. En función del número de las señales
acústicas, de su frecuencia y duración (larga/breve) y de
la longitud de los intervalos, el técnico del Service puede
localizar y eliminar el error correspondiente.
y Desactive la máquina.
y Llame a la asistencia técnica.

Table of Contents

Related product manuals