EasyManua.ls Logo

Honeywell MP953 Series - Page 22

Honeywell MP953 Series
24 pages
Print Icon
To Next Page IconTo Next Page
To Next Page IconTo Next Page
To Previous Page IconTo Previous Page
To Previous Page IconTo Previous Page
Loading...
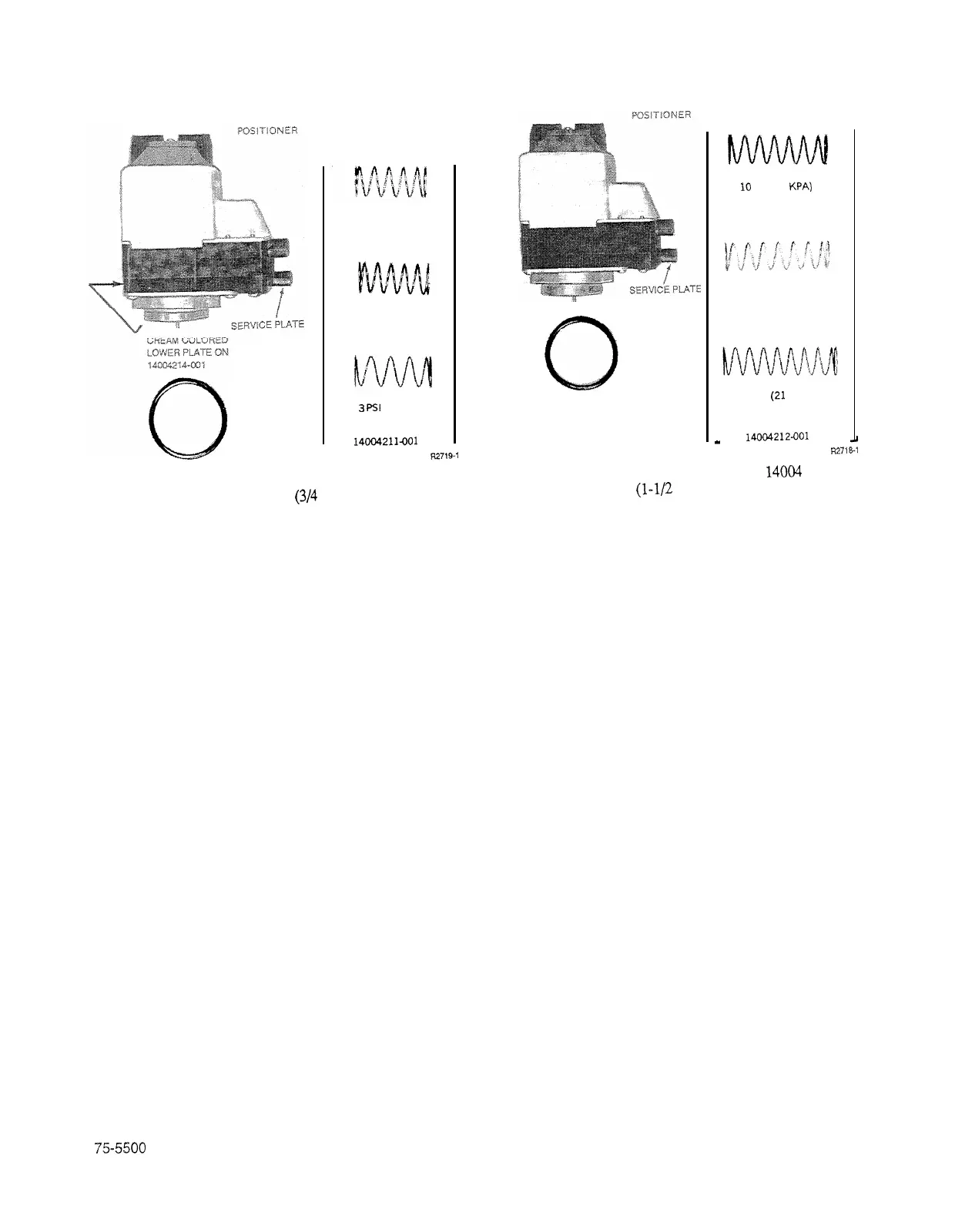
D-RING
312602
BLUE
10 PSI (69 KPA)
YELLOW
5 PSI (34 KPA)
BLACK
3
PSI
(21 KPA)
FEEDBACK SPRING K
.
14004211-001
O-RING
312602
GREEN
10
PSI (69 KPA)
GRAY
5 PSI (34 KPA)
RED
3 PSI
(21 KPA)
FEEDBACK SPRING KIT
14004212-001
_
R2719-1
Fig. 13. Positive Positioner Retrofit Kits 14004139-001
and 14004214-001
(3/4
in. stroke):).
R27151
Fig. 14. Positive Positioner Retrofit Kit
14QO4
140-001
(l-1/2 in. stroke).
75-5500
20

Related product manuals