EasyManua.ls Logo

honor ELN-L09 - Know Your Device

honor ELN-L09
233 pages
Print Icon
To Next Page IconTo Next Page
To Next Page IconTo Next Page
To Previous Page IconTo Previous Page
To Previous Page IconTo Previous Page
Loading...
English
Know Your Device
Before using the device, familiarise yourself with its basic
operations.
To power on your device, press and hold the power button
until the screen turns on.
To power  your device, press and hold the power button, and
then touch .
To  your device, press and hold the power button, and
then touch .
Press and hold the Power and Volume down buttons for more
than 10 seconds to force  your device.
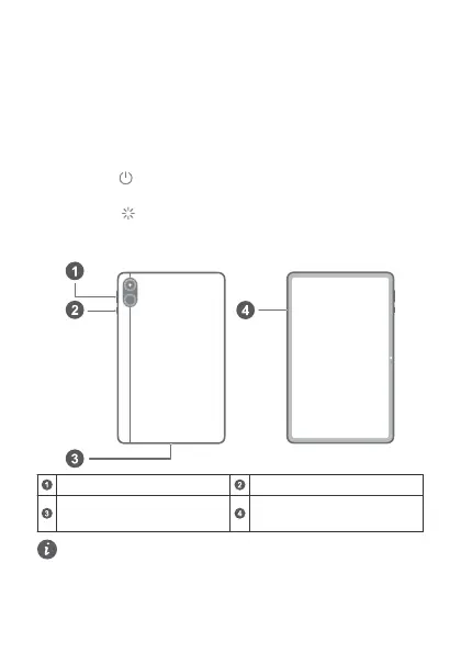
Volume button Power button
USB Type-C 
jack
Card slot
Check out the pre-installed Tips app and master all the
great features on your device.
1

Related product manuals