EasyManua.ls Logo

Hoover HIES55MCTT - Page 72

Hoover HIES55MCTT
220 pages
Print Icon
To Next Page IconTo Next Page
To Next Page IconTo Next Page
To Previous Page IconTo Previous Page
To Previous Page IconTo Previous Page
Loading...
EL-8
Επισκόπηση προϊόντος
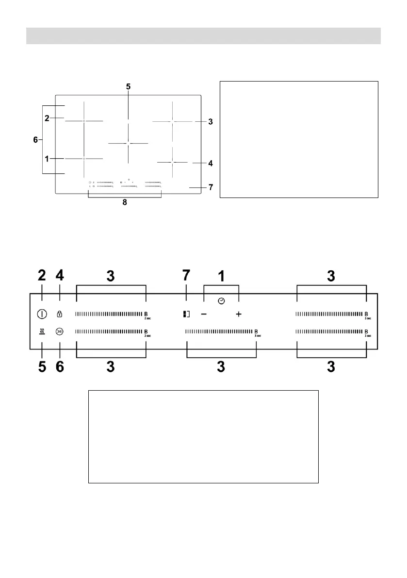
Κάτοψη
1. Ζώνη 2000 W, boost έως 2600 W
2. Ζώνη 1500 W, boost έως 2000 W
3. Ζώνη 2000 W, boost έως 2600 W
4. Ζώνη 1500 W, boost έως 1800 W
5. Ζώνη 2000 W, boost έως 2600 W
6. Εύκαμπτη ζώνη, 2800W boost έως
3500 W
7. Κεραμικό γυαλί
8. Πίνακας ελέγχου
Πίνακας ελέγχου
1. Κουμπί χρονοδιακόπτη
2. Κουμπί ON/OFF
3. Πλήκτρο ρύθμισης ισχύος/έλεγχος λειτουργίας boost
4. Κλείδωμα κουμπιών
5. Διατήρηση λειτουργίας θέρμανσης
6. Κουμπί λειτουργίας παύσης
7. Εύκαμπτη ζώνη

Table of Contents

Related product manuals