EasyManua.ls Logo

HP 39gs - Page 330

HP 39gs
366 pages
Print Icon
To Next Page IconTo Next Page
To Next Page IconTo Next Page
To Previous Page IconTo Previous Page
To Previous Page IconTo Previous Page
Loading...
viii. Pressing
this time will result in the screen shown below right
which displays the two complex roots.
ix. Press
, , CLEAR to clear the highlighted expression, which
in this case is the whole CAS editing screen.
In the material on the following page we will explore this editing screen in more detail, looking particularly at
why it is necessary to highlight expressions in some cases and not others, and how to move the highlight from
one component of the expression to another and how to use special keys to manipulate the expression.
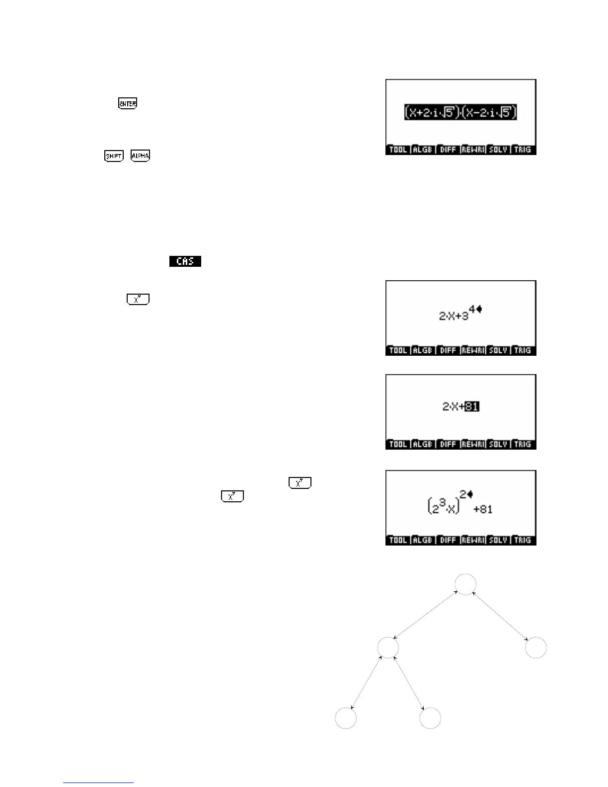
In the
HOME view press and then follow the sequence of keys below:
Press 2 + 3
4
In this case you will notice that the power of 4 was placed so that it
applied only to the last character typed; the 3.
Press up arrow twice. Then press
ENTER.
Notice that pressing up arrow caused more and more of the expression
to be highlighted. Pressing
ENTER evaluated the currently highlighted
expression of
3^4 to be 81.
Press left arrow once then down arrow once. Press
3, then press
up arrow three times & finally press
2.
(DO NOT use the
X
2
button for this.)
Notice that in each case the power was applied to the currently
highlighted element of the expression. Brackets are automatically added
as required.
Notice also the movement of the highlight. If you regard
the original expression of
2X+81 as a tree of operations
as shown right then it may make more sense. When you
finished step 2 the highlight was on C, the node containing
81.
+
81
*
2
X
A
B
E
C
Pressing left arrow moved horizontally from node C to
node B. The highlight at that point encompasses everything
at or below node B. In this case this is the expression
2*X’.
D
330

Table of Contents

Other manuals for HP 39gs

Related product manuals