EasyManua.ls Logo

HP Color LaserJet CP1210 Series; Color LaserJet CP1510 Series - Removing Rollers

HP Color LaserJet CP1210 Series; Color LaserJet CP1510 Series
286 pages
To Next Page IconTo Next Page
To Next Page IconTo Next Page
To Previous Page IconTo Previous Page
To Previous Page IconTo Previous Page
Loading...
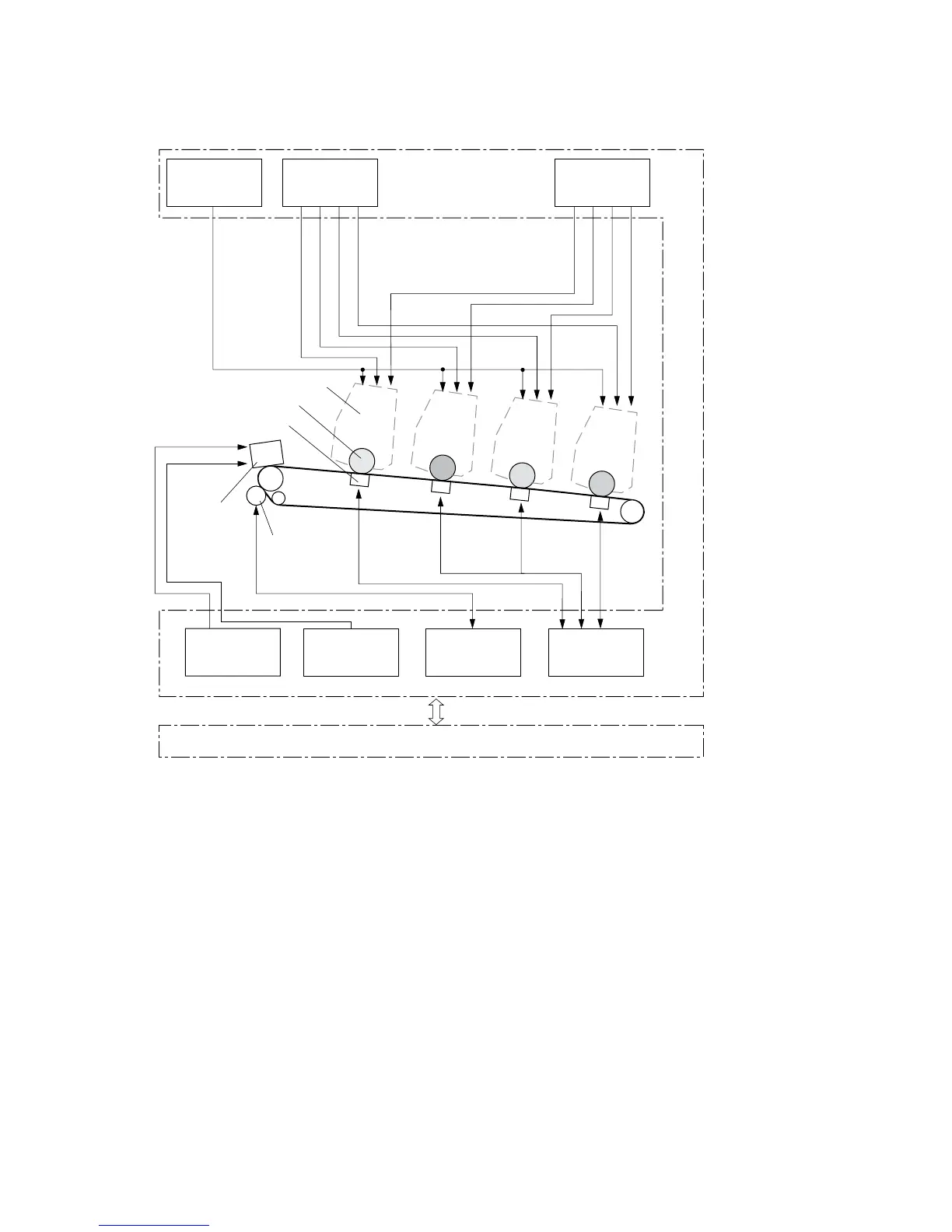
High-voltage power supply
Figure 5-6 High-voltage power supply
ITB
TR1_1
TR1_23
TR1_23
TR1_4
TR2
ICLB
BLD1
BLD2
BLD3
BLD4
DEV1
DEV2
DEV3
DEV4
PRI
ICLR
Photosensitive drum
Primary transfer pad
DC controller
High-voltage power supply
Primary charging
high-voltage
generation circuit
Developing
high-voltage
generation circuit
Primary transfer
high-voltage
generation circuit
Cartridge
Secondary transfer
high-voltage
generation circuit
ITB cleaning brush
high-voltage
generation circuit
ITB cleaning roller
high-voltage
generation circuit
Blade
high-voltage
generation circuit
Secondary
transfer roller
ITB cleaning unit
78 Chapter 5 Theory of operation ENWW

Related product manuals