EasyManua.ls Logo

HP LASERJET P4014 - Page 6

HP LASERJET P4014
22 pages
To Next Page IconTo Next Page
To Next Page IconTo Next Page
To Previous Page IconTo Previous Page
To Previous Page IconTo Previous Page
Loading...
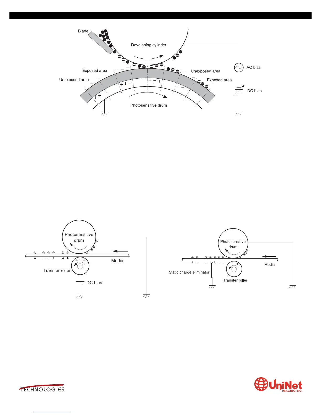
The third step (developing block) is where the toner image is developed on the drum by the developing section, (or supply cham-
ber), which contains the toner particles. The toner is held to the magnetic roller sleeve by the stationary magnet inside the sleeve,
and a DC bias voltage supplied by the high voltage power supply. This DC bias voltage is controlled by the printer’s density set-
ting, and causes either more or less toner to be attracted to the drum. This in turn will either increase or decrease the print den-
sity. Both the Primary Charge roller and magnetic roller DC Bias voltages are controlled by the printer’s density setting. The
amount of toner on the magnetic roller sleeve is also controlled by the rubber Doctor blade, which uses pressure to keep the
amount of toner on the magnetic roller sleeve constant. This blade also causes a static charge to build up on the toner, which
helps keep the coating of toner even, and allows easy transfer to the OPC drum.
At the same time an AC signal is also placed on the magnetic roller sleeve. This signal decreases the attraction of the toner to
the Magnetic Roller sleeve, and increases the repelling action of toner against the areas of the drum that was not exposed to the
laser beam. This AC potential improves the density, and contrast of the toner on the printed page.
As the laser exposed areas of the OPC drum approach the magnetic roller, the toner particles are attracted to the drums surface
due to the opposite voltage potentials of the toner, and laser exposed surface of the OPC drum.
In the fourth step (transfer block) the toner image is then
transferred to the paper as it passes below the drum by the
transfer charge roller, which places a positive charge on the
back of the paper. This positive charge causes the negatively
charged toner on the drum’s surface to be attracted to the
page. The small diameter of the drum, combined with the stiff-
ness of the paper causes the paper to peel away from the
drum.
In the fifth step (also part of the transfer block) the paper sep-
arates from the drum. The static charge eliminator weakens
the attractive forces between the negatively charged drum sur-
face, and the positively charged paper. This prevents toner
dropouts onto the paper at low temperatures and humidity
and also prevents paper from wrapping around the drum.
UNINET IMAGING INC. BROTHER 1240/1650 ASSEMBLING THE TONER CARTRIDGEUNINET IMAGING INC. BROTHER 1240/1650 DISASSEMBLING THE TONER CARTRIDGE
HP P4014, P4015 & P4045 CARTRIDGE REMANUFACTURING INSTRUCTIONS
3232 West El Segundo Blvd., Los Angeles, California 90250 USA Ph +1 310 280 9620 Fx +1 310 838 7294 techsupport@uninetimaging.com www.uninetimaging.com
© 2008 UniNet Imaging Inc. All Trademark names are property of their respective owners. Product brand names mentioned are intended to show compatibility only. UniNet Imaging does not warrant downloaded information.
SU
MMIT

Other manuals for HP LASERJET P4014

Related product manuals