EasyManua.ls Logo

HP ML110 - Component identification; Front panel components; Front panel LEDs and buttons

HP ML110
116 pages
Print Icon
To Next Page IconTo Next Page
To Next Page IconTo Next Page
To Previous Page IconTo Previous Page
To Previous Page IconTo Previous Page
Loading...
Component identification 7
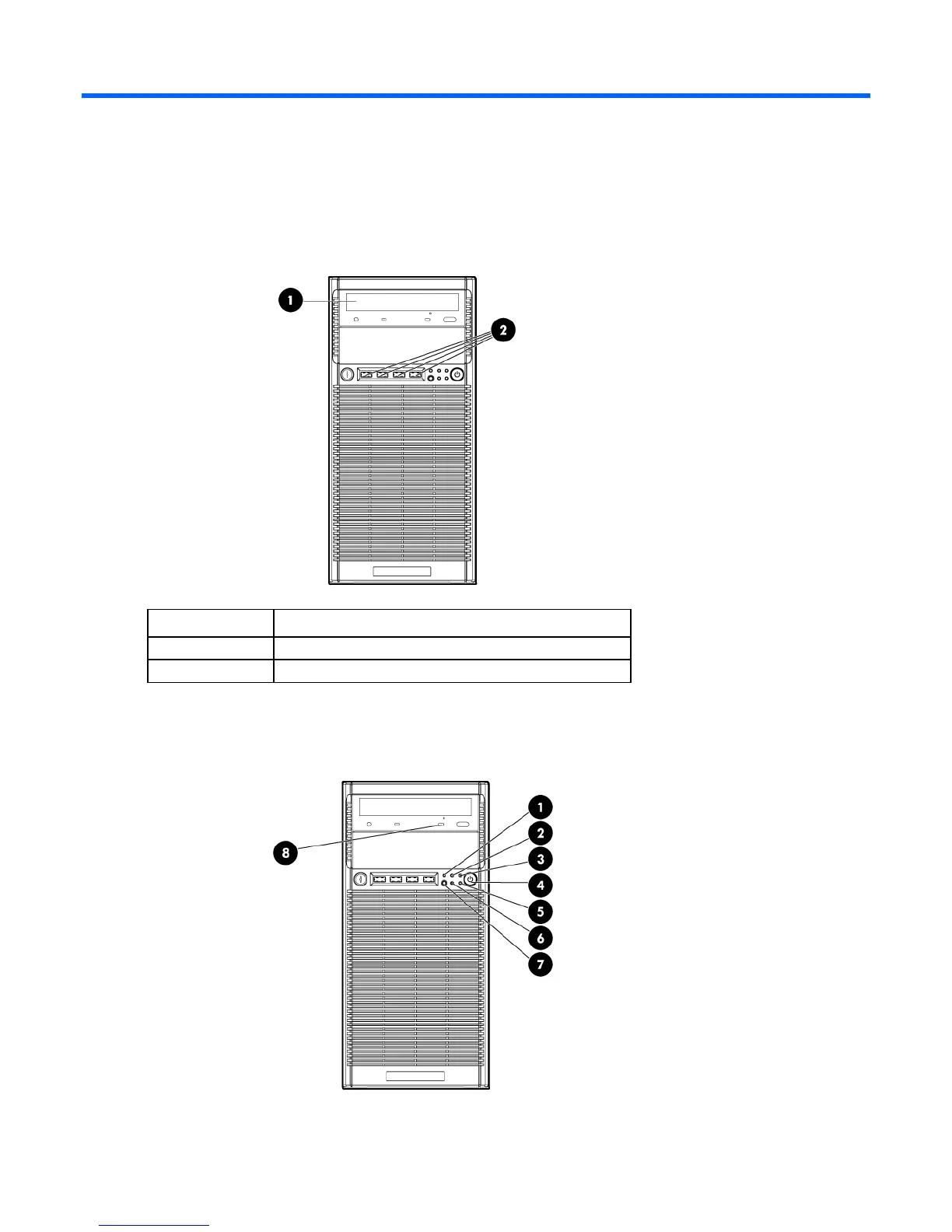
Component identification
Front panel components
Item Description
1
Optical drive bay
2
USB connectors (4)
Front panel LEDs and buttons

Related product manuals