EasyManua.ls Logo

HP ProLiant ML310 Generation 4 - Page 66

HP ProLiant ML310 Generation 4
72 pages
Print Icon
To Next Page IconTo Next Page
To Next Page IconTo Next Page
To Previous Page IconTo Previous Page
To Previous Page IconTo Previous Page
Loading...
Component identification 66
The hard drive activity LED will not illuminate if using SATA drives connected to the embedded storage
device. In this configuration, SATA hard drive activity can be identified using the LED on the system front
panel.
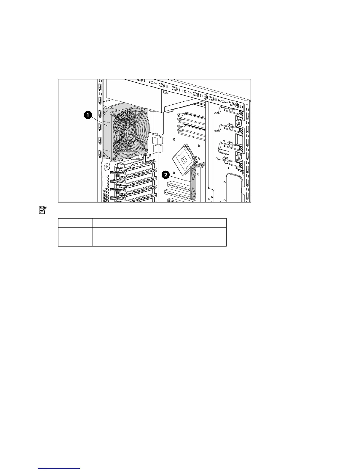
Fan locations
NOTE: The air baffle and the processor heatsink are removed for clarity.
Item Description
1 System fan
2 Hard drive cage fan

Related product manuals