EasyManua.ls Logo

HP W100 - Page 34

HP W100
42 pages
Print Icon
To Next Page IconTo Next Page
To Next Page IconTo Next Page
To Previous Page IconTo Previous Page
To Previous Page IconTo Previous Page
Loading...
3.
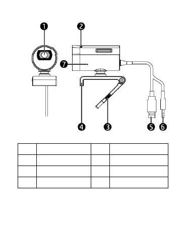
產品概要
1
镜头
5
USB线
2
可调式焦距
6
音源线
3
三脚架孔
7
麦克风
4
底座支架

Related product manuals