EasyManua.ls Logo

Huawei Mobile WiFi E5786 - Connecting Android Device via HiLink App

Huawei Mobile WiFi E5786
Print Icon
To Next Page IconTo Next Page
To Next Page IconTo Next Page
To Previous Page IconTo Previous Page
To Previous Page IconTo Previous Page
Loading...
25
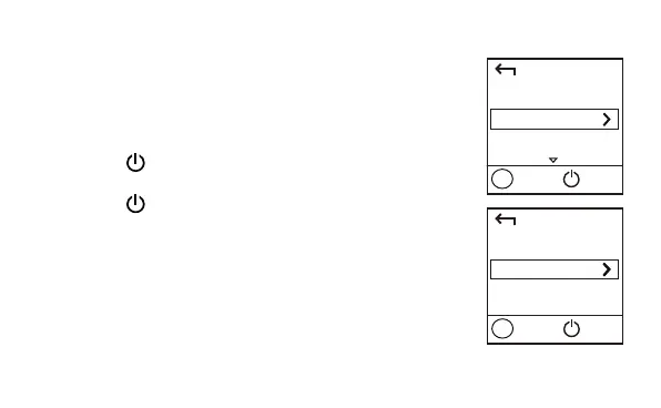
Connecting an Android Device to the Mobile WiFi Using a 2D
Barcode
On the Mobile WiFi:
1. Press the MENU button to display the menu.
2. Press the MENU button to scroll to 2D Barcode.
3. Press the
button to enter 2D Barcode.
4. Press the MENU button to scroll to Wi-Fi key.
5. Press the
button to display the Wi-Fi key screen.
On your Android device:
6. Scan the 2D Barcode on the Mobile WiFi using the HUAWEI
HiLink APP.
Your Android device will then connect to the Mobile WiFi.
Back
2D Barcode
Next
OK
Menu
Back
Wi-Fi key
Next
OK
Menu

Related product manuals