EasyManua.ls Logo

HUSLOG BE-430334 - Device Construction and Equipment Use; Package Contents; Device Construction Overview; Charging the Battery

HUSLOG BE-430334
Print Icon
To Next Page IconTo Next Page
To Next Page IconTo Next Page
To Previous Page IconTo Previous Page
To Previous Page IconTo Previous Page
Loading...
EN © 2023 HUSLOG All Rights Reserved Multifunctional face massager
9
2.2 Package content
Multifunctional face massager
micro USB cable
User manual
If any of the above items is missing or damaged, please contact your dealer.
We advise to keep the container in case of any complaints.
You print a version of the user manual with the large font size or download it from the web
address below:
https://mptech.eu/qr/huslog
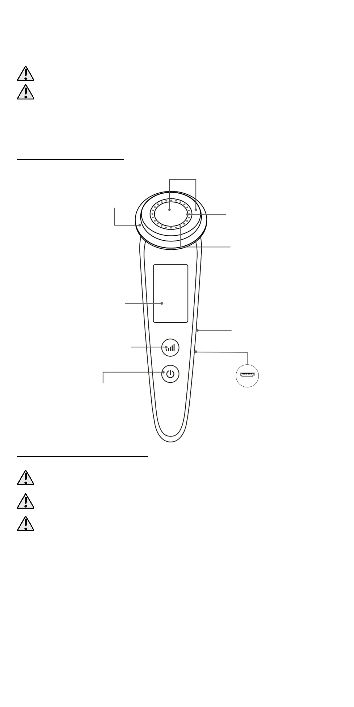
3. Device construction
4. The use of the equipment
4.1 Charging the battery
The battery should be fully charged before the first use of product. Several charging and
discharging cycles may be necessary to achieve full battery capacity.
Avoid excessive battery discharge. This can damage the battery or shorten its service life.
A low battery is indicated by a short double beep and the device is switched off.
The device can heat up during charging. It is a regular occurrence and should not affect the
stability or performance of the device. Do not leave the device to be charged unattended
as this may result in fire, damage to the device or its surroundings etc.
To charge the device, connect the micro USB plug of the supplied cable to the micro USB
connector on the device. Connect the other end of the cable to a powered USB adapter or,
for example, a socket in a computer, power bank, etc., which at the output guarantees a
power supply of 5 V 1 A or higher. When charging starts, the battery icon on the display
will flash.
When charging is complete, the battery icon will remain lit. After charging is complete,
disconnect the USB cable from the device and the power source.
4.2 Turning the device on, off and operating it
Press and hold the power button for about 3 seconds to turn on the device. After turning
on, short pressing the power button will switch between four operating modes of the
device:
Cleansing
Photorejuvenation
Regeneration
Eye care
Vibration intensity
button
LED backlight shade
Display
Power button
Side rail
micro USB connector
(side of the device)
Plastic ring
LED backlight
Head