EasyManua.ls Logo

Husqvarna YTH151 - Page 28

Husqvarna YTH151
72 pages
Print Icon
To Next Page IconTo Next Page
To Next Page IconTo Next Page
To Previous Page IconTo Previous Page
To Previous Page IconTo Previous Page
Loading...
28
3
02309
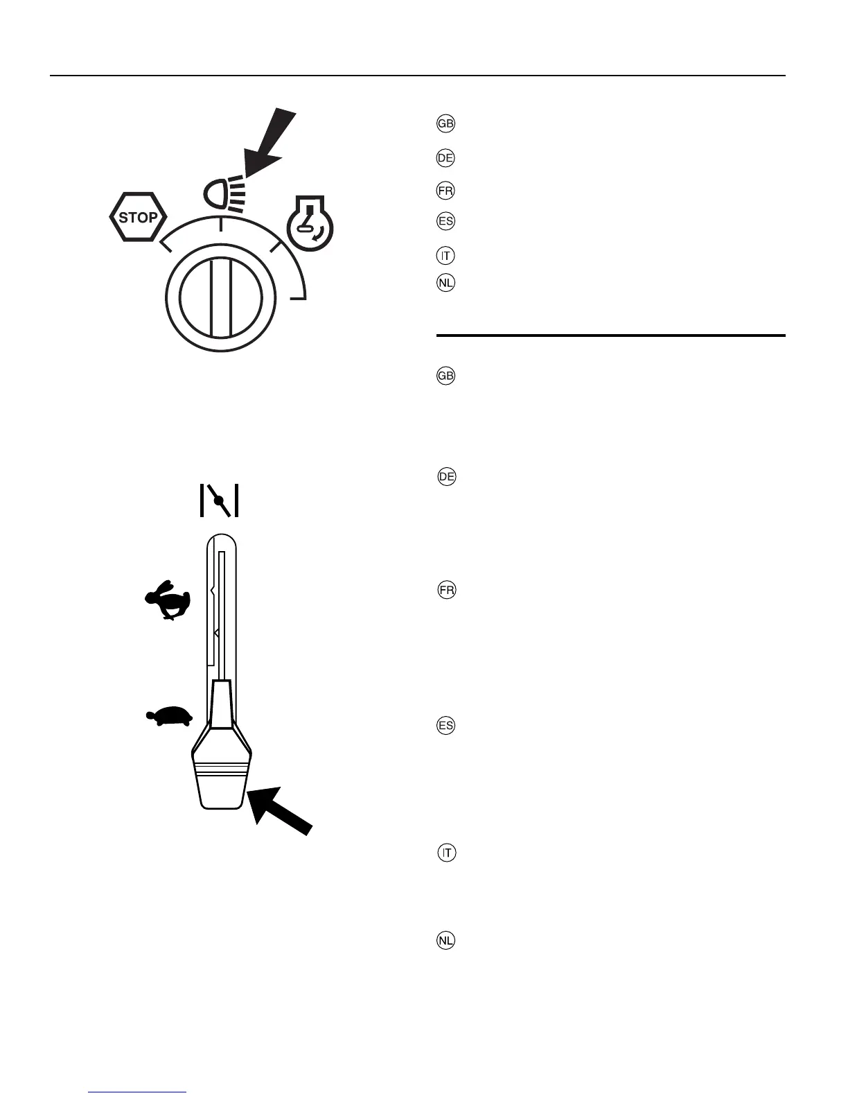
1. Light switch Position
1. Lichtschalter
1. Interrupteur des phares
1. Interruptor de alumbrado
1. Interruttore luci
1. Schakelaar verlichting
2. Throttle and choke control
The accelerator control regulates the motor speed and also
the speed of the blades. If the lever is in its forward position
the choke function is con nect ed. If the lever is in its reverse
position the motor is in neu tral. Full speed lies between these
two po si tions.
2. Gas-und kaltstarthebel
Mit dem Gashebel wird die Drehzahl des Motors und damit
auch die Drehgeschwindigkeit der Mähklingen geregelt. Mit
dem Hebel in seiner vordersten Stellung ist die Kaltstart-funk-
tion eingeschaltet. Mit dem Hebel in der hintersten Stellung
läuft der Motor im Leerlauf. Zwischen diesen beiden Endstell-
ungen liegt die Vollgasstellung.
2. Commande des gaz et starter
La commande des gaz permet de faire varier le régime du
moteur et donc la vitesse de rotation des lames. En poussant
la manette vers le haut jusqu'en butée, le stater s'enclenche
automatiquement. Lorsque la manette se trouve en position
la plus basse, le moteur tourne au ralenti. Entre ces deux
positions extrèmes, se trouve le régime optimum pour la tonte.
Il est signalé par une encoche située sur le bord de la fente
dans laquelle se déplace la manette.
2. Mandos del acelerador y del estrangulador
Con el acelerador se regulan las revoluciones del motor y
con ellas también la velocidad de rotación de las cuchillas. Si
la palanca está en su posición delantera, estará acoplada la
función de estrangulación. Si la palanca está en su posición
trasera, el motor marchará en ralentí. Entre estas dos posicio-
nes extremas está la de pleno gases.
2. Comando gas/choke
Questo comando aumenta o diminuisce il regime di giri del
motore. Premere la leva completamente in avanti per lo choke.
Tirare la leva completamente indietro per il minimo. Il gas
massimo si trova in una posizione intermedia.
2. Gas- en chokehendel
Met de gashendel wordt het toerental van de motor geregeld en
daardoor ook de rotatiesnelheid van de messen. Is de hendel
in de voorste stand gezet, is de chokefunctie ingescha-keld.
Staat de hendel in de achterste stand, loopt de motor stationair.
Tussen deze beide buitenposities ligt de vol-gas stand.
01355
02473

Related product manuals